EasyManua.ls Logo

Ele CBR-Test 50 - Page 3

Default Icon
12 pages
Print Icon
To Next Page IconTo Next Page
To Next Page IconTo Next Page
To Previous Page IconTo Previous Page
To Previous Page IconTo Previous Page
Loading...
CBR-Test 50
24-9150
Original Instructions 3 9901X0237 Issue 5
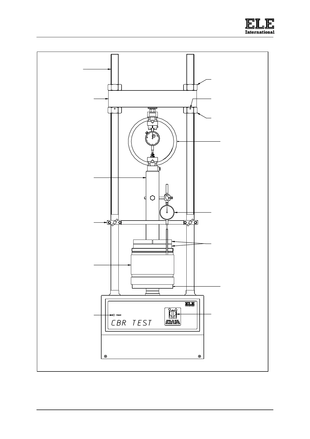
LOCKING
NUTS
ALIGNMENT
STUDS
ADJUSTMENT
NUTS
LOAD RING
COLUMN
CROSSHEAD
PENETRATION
PISTON
PLATEN
SURCHARGE
WEIGHTS
DOWN-OFF-UP
SWITCH
STABILISING
BAR
CBR MOULD
MAINS POWER
LIGHT
FIGURE 1
PENETRATION
DIAL GAUGE