EasyManua.ls Logo

Electrolux EW6S4225C4 - Page 9

Electrolux EW6S4225C4
36 pages
Print Icon
To Next Page IconTo Next Page
To Next Page IconTo Next Page
To Previous Page IconTo Previous Page
To Previous Page IconTo Previous Page
Loading...
We recommend that you
keep the packaging and
the transit bolts for any
transport of the appliance.
5.2 Information for installation
Positioning and levelling
Adjust the appliance correctly to prevent
vibration, noise and movement of the
appliance when it operates.
1. Install the appliance on a flat hard
floor. The appliance must be levelled and
stable. Make sure that the appliance
does not touch the wall or other units and
there is air circulation below the
appliance.
2. Loosen or tighten the feet to adjust the
level. All feet must rest firmly on the floor.
WARNING!
Do not put cardboard, wood
or equivalent materials
below the appliance feet to
adjust the level.
The inlet hose
CAUTION!
Make sure there is no
damage to hoses and there
are no leaks from the
couplings. Do not use an
extension hose if the inlet
hose is too short. Contact
the service centre for a
replacement inlet hose.
1. Connect the water inlet hose to the
back of the appliance.
20º20º
45º45º
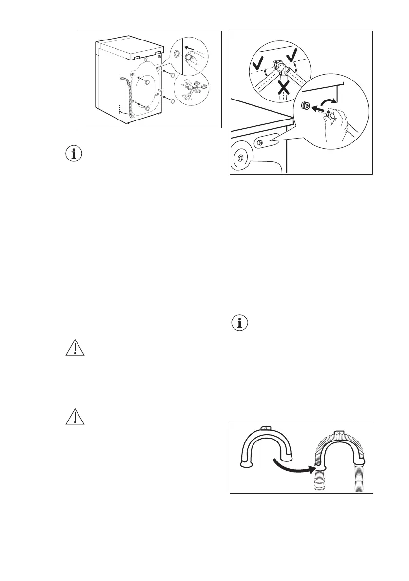
2. Position it toward left or right
depending on the positon of the water
tap. Make sure that the inlet hose is not
in vertical position.
3. If necessary, loosen the ring nut to set
it in the correct position.
4. Connect the water inlet hose to the
cold water tap with 3/4'' thread.
Water drainage
The drain hose should stay at a height of
no less than 60 cm and not more than
100 cm.
You can extend the drain
hose to maximum 400 cm.
Contact the authorised
service centre for the other
drain hose and the
extension.
It is possible to connect the drain hose in
different ways:
1. Make a U shape with the drain hose
and put it around the plastic hose guide.
2. On the edge of a sink - Fasten the
guide to the water tap or to the wall.
ENGLISH 9

Related product manuals