EasyManua.ls Logo

Electrolux EW7F249S - Programme Selection, Execution & Control

Electrolux EW7F249S
40 pages
Print Icon
To Next Page IconTo Next Page
To Next Page IconTo Next Page
To Previous Page IconTo Previous Page
To Previous Page IconTo Previous Page
Loading...
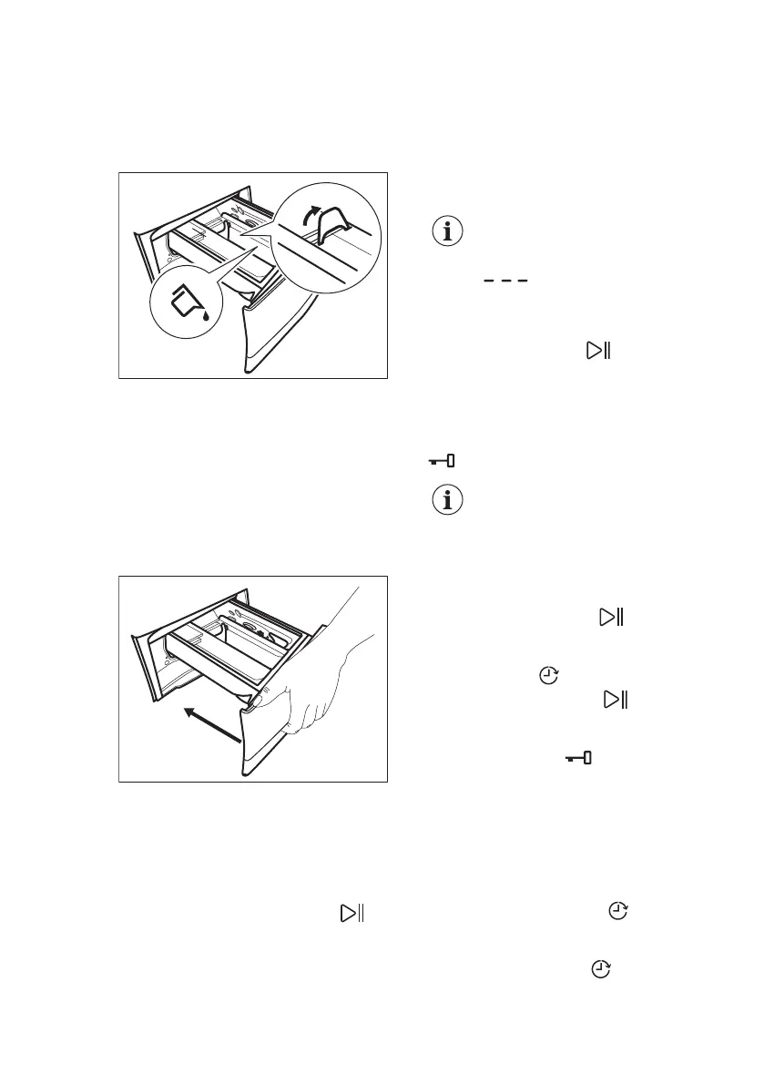
2. Press the lever down to remove the
dispenser.
3. To use powder detergent, turn the
flap up.
4. To use liquid detergent, turn the flap
down.
With the flap in the position DOWN:
Do not use gelatinous or thick
liquid detergents.
Do not exceed to liquid detergent
dose indicated on the flap.
Do not set the prewash phase.
Do not set the delay start function.
5. Measure out the detergent and the
fabric conditioner.
6. Carefully close the detergent
dispenser.
Make sure that the flap does not cause a
blockage when you close the drawer.
10.5 Setting a programme
1. Turn the programme dial to select the
desired washing programme.
The indicator of the Start/Pause
button flashes.
The display shows an indicative
programme duration and the maximum
load.
2. To change the temperature and/or
the spin speed, touch the related
buttons.
3. If desired, set one or more options by
touching the related buttons. The
related indicators illuminate on the
display and the given information
changes accordingly.
If a selection is not possible
an acoustic signal sounds
and the display shows
.
10.6 Starting a programme
Touch the Start/Pause button to start
the programme.
The related indicator stops flashing and
stays on.
The programme starts, the door is
locked. The display shows the indicator
.
The drain pump can operate
shortly before the appliance
fills water.
10.7 Starting a programme with
the delay start
1. Touch the Delay Start button
repeatedly until the display shows the
desired delay time. On the display the
indicator shows
2. Touch the Start/Pause button. The
appliance door locks and starts the
countdown of the delay start. The display
shows the indicator .
When the countdown is completed, the
programme starts automatically.
Cancelling the delay start after
the countdown has started
To cancel the delay start:
1. Touch the Delay Start
button
repeatedly until the display shows the
desired delay time. On the display
the indicator shows
ENGLISH 23

Related product manuals