EasyManua.ls Logo

Electrolux EW7F6448W4 - Page 24

Electrolux EW7F6448W4
44 pages
Print Icon
To Next Page IconTo Next Page
To Next Page IconTo Next Page
To Previous Page IconTo Previous Page
To Previous Page IconTo Previous Page
Loading...
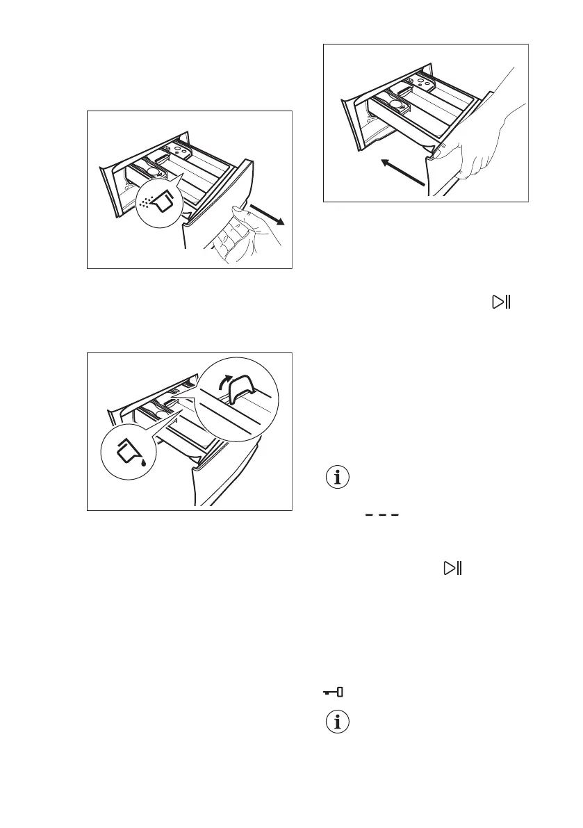
11.4 Check the position of the
detergent flap
1. Pull out the detergent dispenser until
it stops.
2. Press the lever down to remove the
dispenser.
3. To use powder detergent, turn the
flap up.
4. To use liquid detergent, turn the flap
down.
With the flap in the position DOWN:
Do not use gelatinous or thick
liquid detergents.
Do not exceed to liquid detergent
dose indicated on the flap.
Do not set the prewash phase.
Do not set the delay start function.
5. Measure out the detergent and the
fabric conditioner.
6. Carefully close the detergent
dispenser.
Make sure that the flap does not cause a
blockage when you close the drawer.
11.5 Setting a programme
1. Turn the programme dial to select the
desired washing programme.
The indicator of the Start/Pause
button flashes.
The display shows an indicative
programme duration.
2. To change the temperature and/or
the spin speed, touch the related
buttons.
3. If desired, set one or more options by
touching the related buttons. The
related indicators illuminate on the
display and the given information
changes accordingly.
If a selection is not possible
an acoustic signal sounds
and the display shows
.
11.6 Starting a programme
Touch the Start/Pause button to start
the programme. It is not possible to start
the programme when the indicator of the
button is off and doesn't flash (e.g.
programme dial on a wrong position).
The related indicator stops flashing and
stays on.
The programme starts, the door is
locked. The display shows the indicator
.
The drain pump can operate
shortly before the appliance
fills water.
www.electrolux.com24

Related product manuals