EasyManua.ls Logo

Electrolux EW7W5468E6 - Control Panel Description

Electrolux EW7W5468E6
52 pages
Print Icon
To Next Page IconTo Next Page
To Next Page IconTo Next Page
To Previous Page IconTo Previous Page
To Previous Page IconTo Previous Page
Loading...
FreshScent System, thanks to new
FreshScent steam programme, offers
the perfect solution for refreshing
even the most delicate garments
without washing. Use the delicate
fragrance exclusively developed by
ELECTROLUX to add a pleasant
feeling of "just-washed" garment to
the removing odours and wrinkles
action.
The SensiCare System detects the
laundry load size defining the
programme duration in 30 seconds.
The washing programme is tailored to
the laundry load and the type of fabric
without consuming more time, energy
and water than necessary.
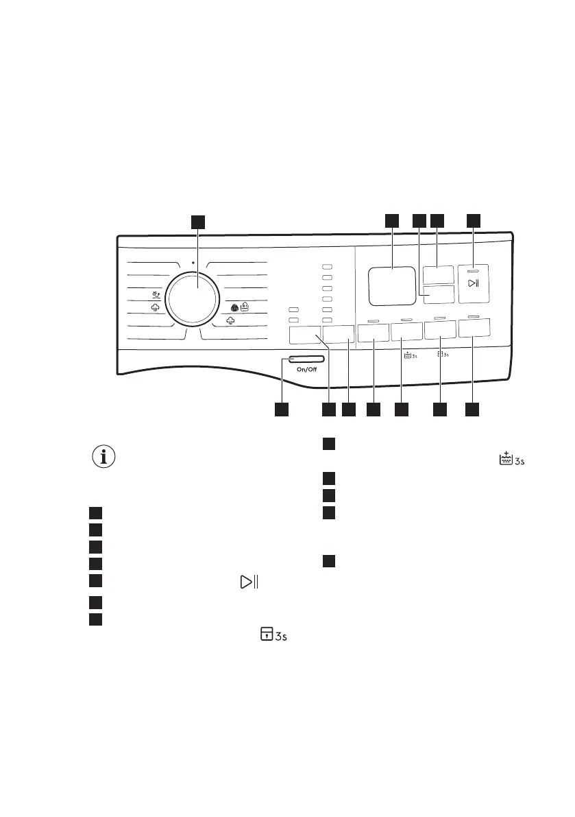
7.2 Control panel description
Rinse
Eco 40-60
Cotton
Synthetics
Delicate
Wool
FreshS
c
ent
Spin/Drain
M
ac
hin
e Clean
Denim
MixCare
Anti-
Allergy
Ou
tdoor
Quick 20’ Wash&Dry 60’
Mode
Tem
p.
W
as
h
90°
60°
40°
30°
20°
Cold
Dry
Spin
T
im
e
Manager
Prewash
Delay
St
art
Time
D
ry
Auto
Dry
2
3 4 5
12 11 8
1
7 6
910
The permanent options are
set by holding pressed the
relative button for at least 3
seconds.
1
Programme dial
2
Display
3
Auto Dry touch button
4
Time Dry touch button
5
Start/Pause touch button
6
Delay Start touch button
7
Time Manager touch button and
permanent Child Lock option
8
Prewash touch button and
permanent Extra Rinse option
9
Spin touch button
10
Temp. touch button
11
Mode touch button:
Wash
Dry
12
On/Off push button
ENGLISH 13