EasyManua.ls Logo

Electrolux EW7W5468E6 - Cleaning Key Components

Electrolux EW7W5468E6
52 pages
Print Icon
To Next Page IconTo Next Page
To Next Page IconTo Next Page
To Previous Page IconTo Previous Page
To Previous Page IconTo Previous Page
Loading...
Refer to "Cleaning the drum"
paragraph.
17.6 Door seal with double lip
trap
This appliance is designed with a self
cleaning draining system, allowing light
fluff fibers that fall off the clothes to be
drained out with the water. Regularly
examine the seal. Coins, buttons, other
small items can be recovered at the end
of the cycle.
Clean it when needed, using ammonia
cream cleanser agent without scratching
the seal surface.
Always obey the instructions
that you find on the
packaging of the product.
Check and remove objects (if there are
any) that could be trapped in the fold.
Make sure that no laundry remains
between the seal and the door.
Use a moist cloth to wipe off any dirt or
water residue left behind in the door seal
after completion of program cycle.
17.7 Cleaning the drum
Regularly examine the drum to prevent
unwanted deposits.
Rust deposits in the drum may occur due
to rusting foreign body in the washing or
tap water containing iron
Clean the drum with special products for
stainless steel.
Always follow the
instructions that you find on
the packaging of the
product.
Do not clean the drum with
acidic descaling products,
scouring products containing
chlorine or iron or steel wool.
For a thorough clean:
1. Remove all laundry from the drum.
2. Run the Machine Clean programme.
For more details, refer to washing
programme table.
3. Add a small quantity of powder
detergent into the empty drum, in
order to rinse out any left residues.
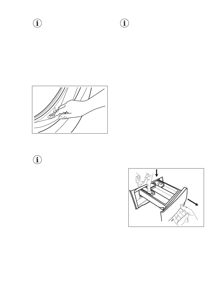
17.8 Cleaning the detergent
dispenser
To prevent possible deposits of dried
detergent or clotted fabric softener
and/or formation of mould in the
detergent dispenser drawer, once in a
while carry out the following cleaning
procedure:
1. Open the drawer. Press the catch
downwards as indicated in the
picture and pull it out.
2
1
2. Remove the top part of the additive
compartment to aid cleaning and
flush it out under running warm
water, to remove any traces of
accumulated detergent. After
cleaning, put the top part back into
position.
www.electrolux.com38

Related product manuals