EasyManua.ls Logo

Electrolux EXD15DN3W - Page 35

Electrolux EXD15DN3W
80 pages
Print Icon
To Next Page IconTo Next Page
To Next Page IconTo Next Page
To Previous Page IconTo Previous Page
To Previous Page IconTo Previous Page
Loading...
7. Per spegnere l'apparecchio, premere il
pulsante ON/OFF
.
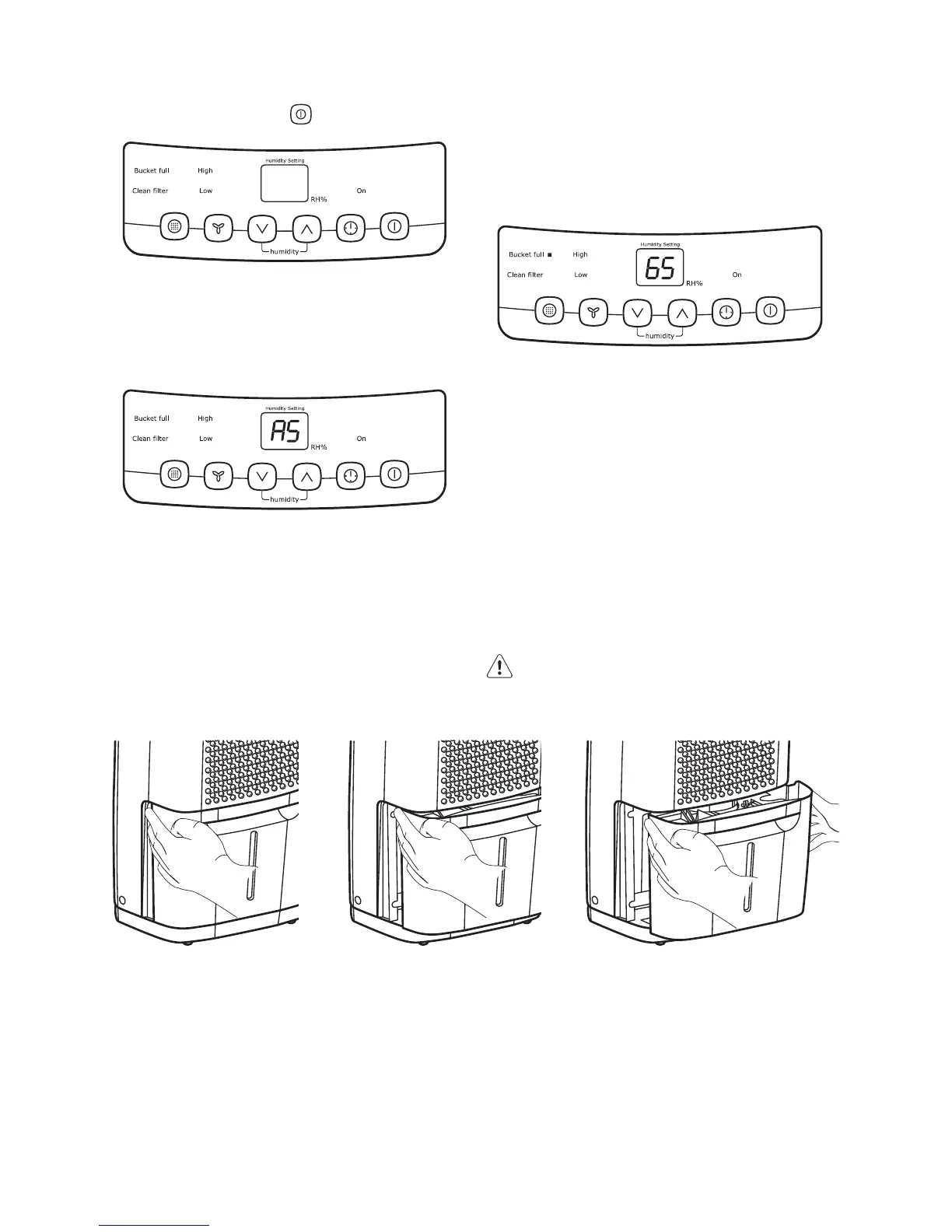
CODICI DI ERRORE
Se il display riporta "AS" o "ES" , significa
che un sensore si è guastato. Contattare il
proprio Centro di Assistenza autorizzato.
ELIMINAZIONE DELL'ACQUA
RACCOLTA
1. Svuotamento del secchiello:
quando il secchiello è pieno, l'appa-
recchio si spegne e la spia BUCKET
FULL si illumina.
Non spostare l'apparecchio per evi-
tare di rovesciare l'acqua sul pavi-
mento.
Premere delicatamente i lati del sec-
chiello per sganciarlo dall'apparec-
chio.
Togliere il secchiello come illustrato
nelle foto in basso e svuotarlo.
Rimettere il secchiello vuoto dentro
l'apparecchio e una volta posizionato
correttamente, l'apparecchio si azio-
nerà di nuovo.
Quando il secchiello è nella posizione
corretta si sente uno scatto
Avvertenza! Svuotare l'acqua
accumulata nel secchiello. L'acqua non
è potabile e non va bevuta.
electrolux 35

Related product manuals