EasyManua.ls Logo

Electrolux LSB2AF82S - Page 50

Electrolux LSB2AF82S
56 pages
Print Icon
To Next Page IconTo Next Page
To Next Page IconTo Next Page
To Previous Page IconTo Previous Page
To Previous Page IconTo Previous Page
Loading...
7.4 Descongelação do
congelador
CUIDADO!
Nunca usar utensílios
metálicos afiados para
raspar o gelo do evaporador
para não o danificar.
Não usar dispositivos
mecânicos ou outros meios
artificiais para acelerar o
processo de descongelação,
para além dos
recomendados pelo
fabricante.
Cerca de 12 horas antes do
descongelamento, baixar a
temperatura para criar uma
reserva de frio suficiente no
caso de occorrer uma
interrupção no
funcionamento.
Irá sempre formar-se uma determinada
quantidade de gelo nas prateleiras do
congelador e em torno do compartimento
superior.
O congelador deve ser descongelado
quando a camada de gelo atingir uma
espessura de cerca de 3-5 mm.
1. Desligar o aparelho ou remover a
ficha da tomada elétrica.
2. Retire qualquer alimento guardado e
coloque-o num local fresco.
CUIDADO!
Um aumento da
temperatura nas
embalagens de
alimentos congelados
durante a
descongelação pode
reduzir o tempo de
conservação
considerado seguro.
Não tocar nos alimentos
congelados com as
mãos molhadas. As
mãos podem ficar
coladas aos alimentos.
3. Deixar a porta aberta. Proteger o
chão da água da descongelação com
um pano ou um recipiente baixo.
4. Para acelerar o processo de
descongelação, colocar uma panela
com água quente no compartimento
do congelador. Adicionalmente,
remova os pedaços de gelo que se
tenham partido antes do fim da
descongelação.
5. Secar muito bem o interior quando a
descongelação terminar.
6. Ligar o aparelho e fechar a porta.
7. Defina o regulador de temperatura
para obter a frescura máxima e
coloque o aparelho em
funcionamento durante, pelo menos,
três horas com esta definição.
Os alimentos podem ser novamente
guardados no compartimento do
congelador depois de passado este
tempo.
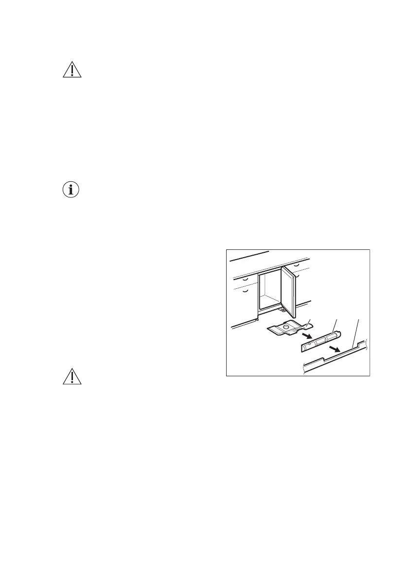
7.5 Limpeza dos canais de ar
1. Remova o rodapé (A) e, em seguida,
a grelha de ventilação (B).
C AB
2. Limpe a grelha de ventilação.
Consulte "Limpar o filtro de
ventilação".)
3. Puxe cuidadosamente o defletor de
ar (C) para fora verificando se não
existe ainda água resultante da
descongelação.
4. Limpe a parte inferior do aparelho
com um aspirador.
7.6 Limpar o filtro de ventilação
O filtro pode ser removido para lavagem.
O aparelho está equipado com um filtro
de entrada de ar (1) e uma conduta de
saída de ar (2) na grelha de ventilação.
www.electrolux.com50

Related product manuals