EasyManua.ls Logo

Electrolux RM 4290 - Page 9

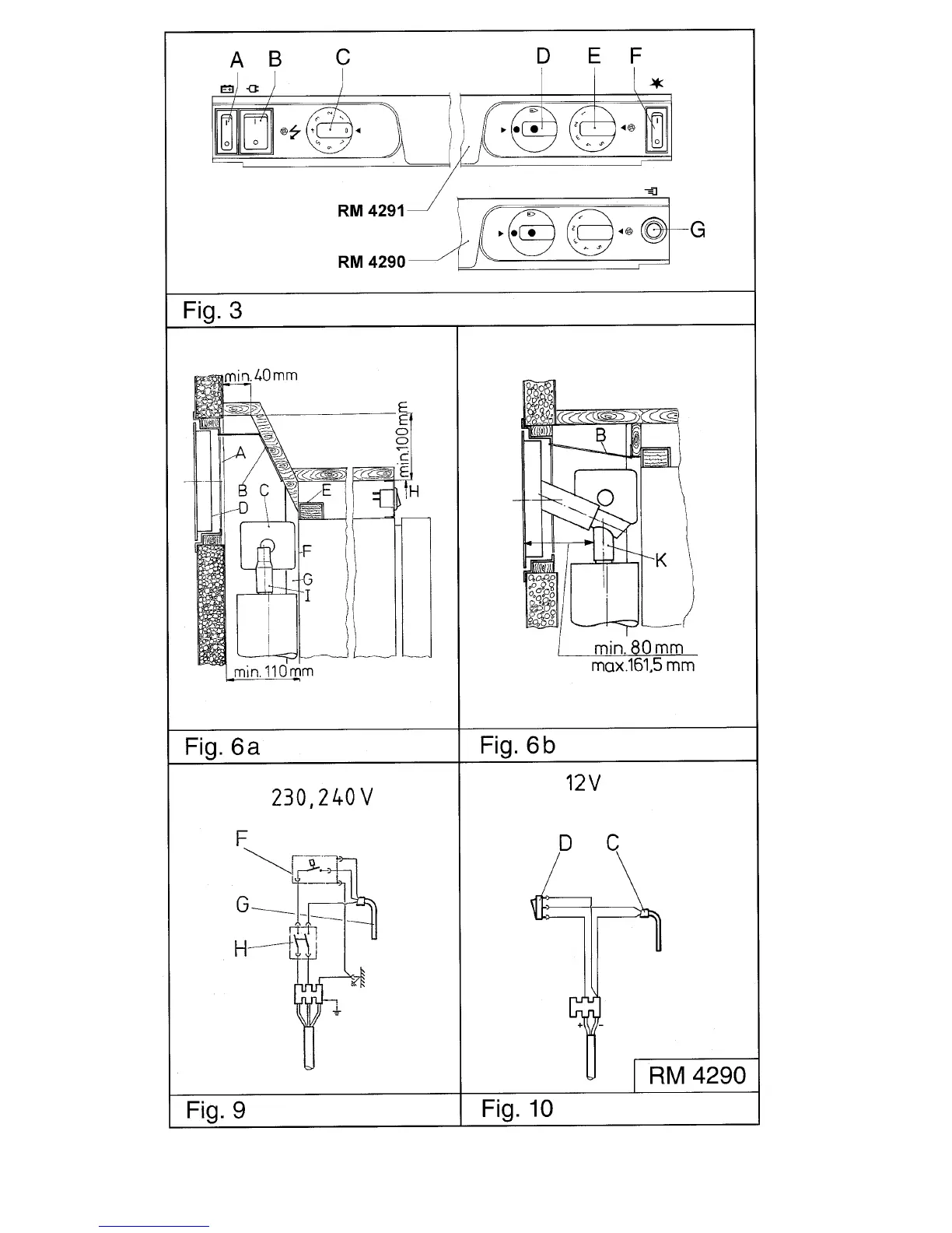
Electrolux RM 4290
10 pages
Print Icon
To Next Page IconTo Next Page
To Next Page IconTo Next Page
To Previous Page IconTo Previous Page
To Previous Page IconTo Previous Page
Loading...

Related product manuals