EasyManua.ls Logo

Electrolux SC310 - Page 45

Electrolux SC310
Print Icon
To Next Page IconTo Next Page
To Next Page IconTo Next Page
To Previous Page IconTo Previous Page
To Previous Page IconTo Previous Page
Loading...
Il corretto funzionamento
dell’apparecchiatura può
essere garantito solo nel
rispetto delle temperature
indicate.
In caso di dubbi sul luogo di
installazione
dell’apparecchiatura,
contattare il venditore, il
nostro Centro di Assistenza
o il Centro di Assistenza
Autorizzato più vicino.
Deve essere possibile
scollegare l’apparecchiatura
dalla rete elettrica. Eseguire
perciò l’installazione facendo
sì che la spina rimanga
facilmente accessibile.
3.3 Collegamento elettrico
Prima di inserire la spina, verificare
che la tensione e la frequenza
riportate sulla targhetta di
identificazione corrispondano a quelle
dell'impianto domestico.
L'apparecchiatura deve disporre di
una messa a terra. La spina del cavo
di alimentazione è dotata di un
apposito contatto. Se la presa di
corrente dell'impianto domestico non
è collegata a terra, allacciare
l'apparecchiatura a una presa di terra
separata in conformità alle norme in
vigore, rivolgendosi a un elettricista
qualificato.
Il produttore declina ogni
responsabilità qualora le suddette
precauzioni di sicurezza non vengano
rispettate.
Questa apparecchiatura è conforme
alle direttive CEE.
3.4 Livellamento
Quando si posiziona l’elettrodomestico,
assicurarsi che sia in piano. Ciò può
essere effettuato con due piedini
regolabili nella parte inferiore anteriore.
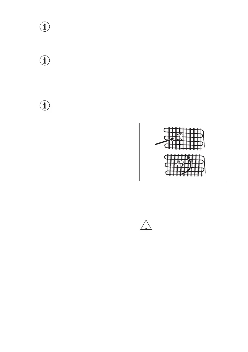
3.5 Distanziatori posteriori
Nella confezione contenente la
documentazione sono presenti due
distanziatori che vanno montati come
mostrato in figura.
Se si posiziona l'apparecchiatura contro
una parete in un'installazione
indipendente, installare i distanziatori
posteriori per garantire la distanza
massima.
3.6 Come invertire la porta
Fare riferimento al documento separato
con le istruzioni per l’installazione e
l’inversione della porta.
ATTENZIONE!
In ogni fase di inversione
della porta proteggere il
pavimento da graffi con un
materiale resistente.
ITALIANO 45

Related product manuals