EasyManua.ls Logo

Elem Garden Technic LTDE1332-21 - Electrical Diagram

Elem Garden Technic LTDE1332-21
Print Icon
To Next Page IconTo Next Page
To Next Page IconTo Next Page
To Previous Page IconTo Previous Page
To Previous Page IconTo Previous Page
Loading...
56
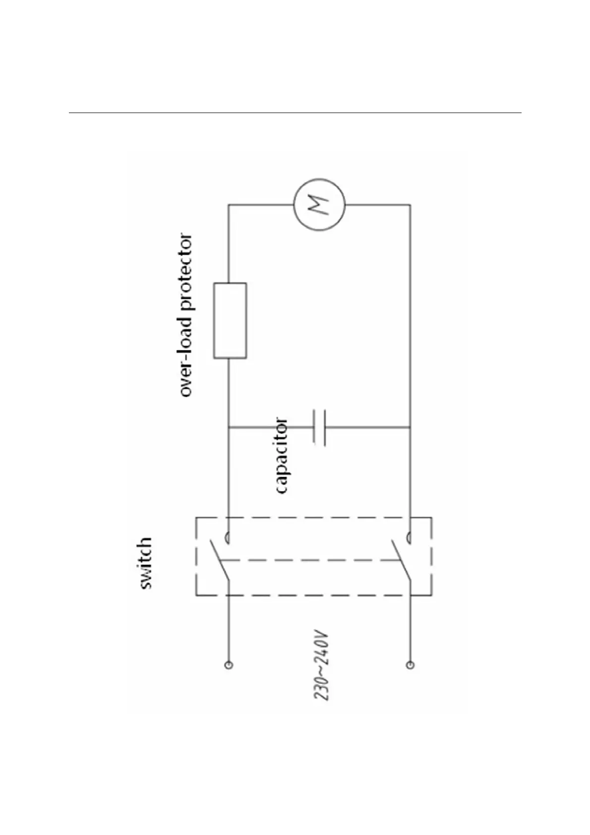
SCHÉMA ÉLECTRIQUE - ELEKTRISCH SCHEMA
ELECTRICAL DIAGRAM - SCHEMA ELETTRICO

Related product manuals