EasyManua.ls Logo

EONE Extreme Series - Page 3

Default Icon
20 pages
Print Icon
To Next Page IconTo Next Page
To Next Page IconTo Next Page
To Previous Page IconTo Previous Page
To Previous Page IconTo Previous Page
Loading...
3
FAILURE TO
COMPLY WITH
INSTALLATION
INSTRUCTIONS
WILL VOID
WARRANTY
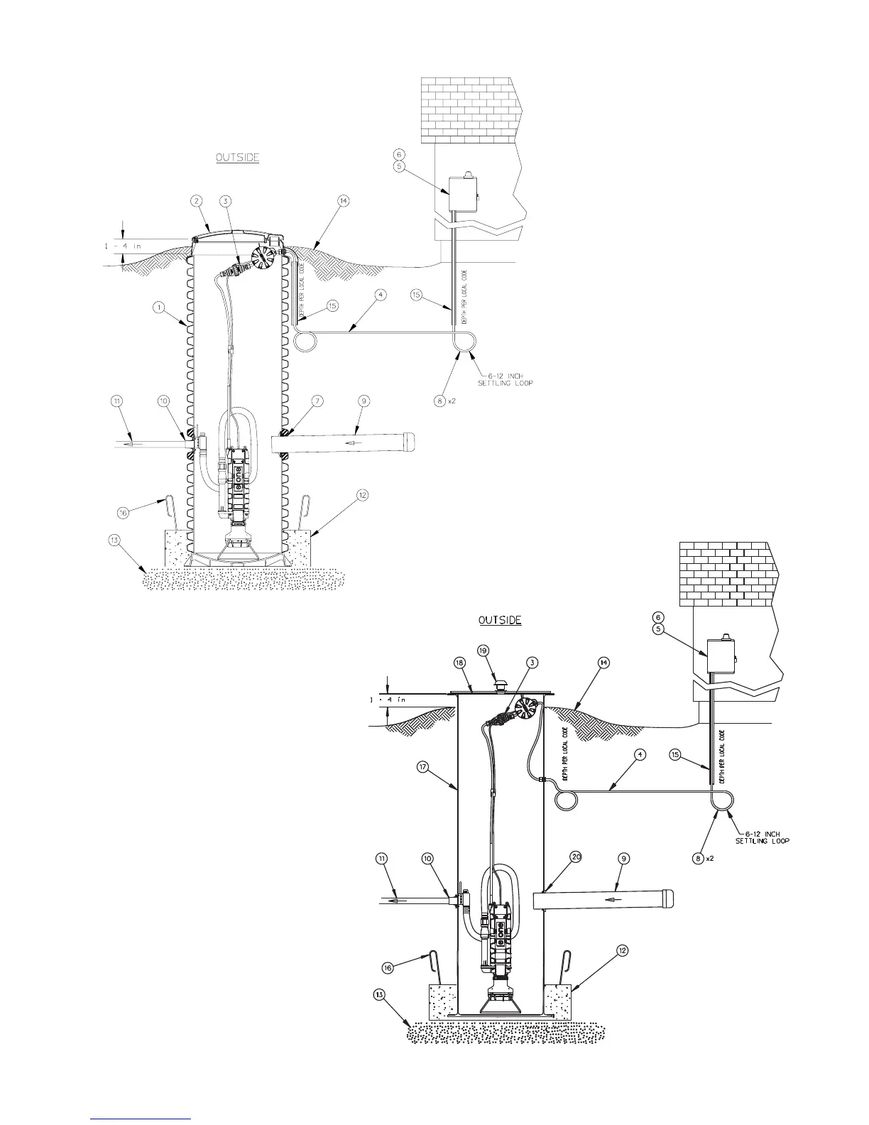
Figure 1
SEAL
CONDUIT PER
NEC SECTION
300.5 & 300.7
SEAL
CONDUIT PER
NEC SECTION
300.5 & 300.7