EasyManua.ls Logo

Epson LQ-510 - Printhead Drive Circuit

Epson LQ-510
226 pages
To Next Page IconTo Next Page
To Next Page IconTo Next Page
To Previous Page IconTo Previous Page
To Previous Page IconTo Previous Page
Loading...
PRINCIPLES OF OPERATION
REV.-A
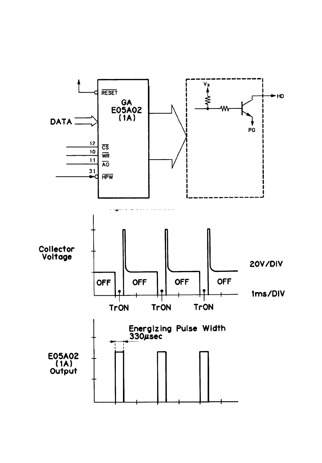
2.3.6.5 Printhead Drive Circuit
The drive pulse width is adjusted using CPU port PC6. The Vx voltage is used to pull up the output signals
from the gate array in order to prevent printhead malfunctions.
+5v
CPU
PC6
Figure 2-64. Printhead Drive Circuit
2V/DIV
Figure 2-65. Printhead Driving Waveforms
2-58
LQ-510

Table of Contents

Other manuals for Epson LQ-510

Related product manuals