EasyManua.ls Logo

Ercol Shalstone - Wall Mounting and Fixings Guide; General Wall Mounting Safety; Types of Wall Plugs Explained

Default Icon
9 pages
Print Icon
To Next Page IconTo Next Page
To Next Page IconTo Next Page
To Previous Page IconTo Previous Page
To Previous Page IconTo Previous Page
Loading...
5
Wall attached item only.
A guide to wall mounting and fixings
Warning
Serious or fatal crushing injuries can occur from furniture tipping over.
To prevent this furniture from tipping over it must be permanantly fixed to the wall.
Wall fixing screws are not included, since different wall materials require different types of screws / fixings.
Please ensure you use the correct screws / fixings for your type of walls and seek professional advice if you
are not sure.
Failure of the product due to incorrect fixings is the responsibility of the installer.
Important: When drilling into the walls always check that there are no hidden wires or pipes etc.
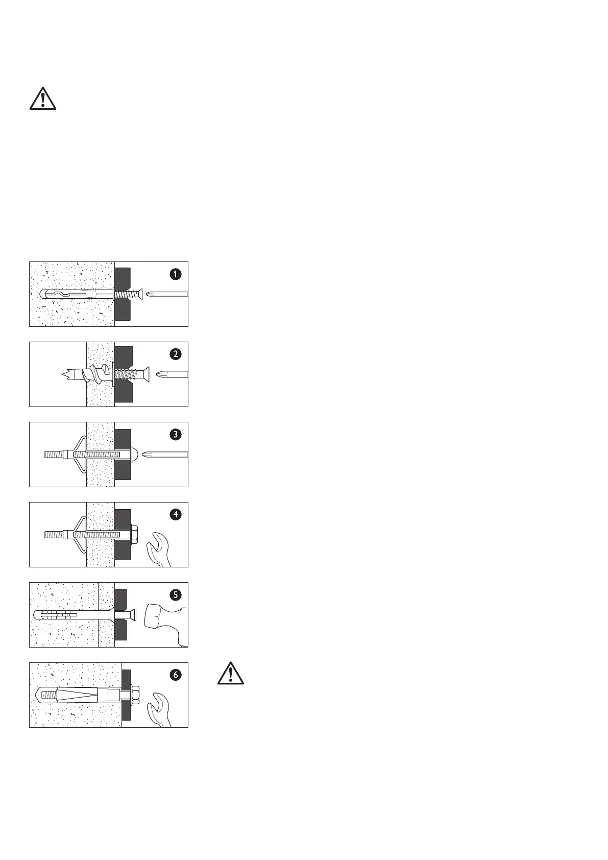
Types of walls
You can use one of the following types of wall plug if your walls are made of
brick, breezeblock, concrete, stone or wood.
1. General Purpose wall plug
Generally aerated blocks should not be used to support heavy loads, use a
specialist fitting in this case. For light loads, general - purpose wall plugs can
be used.
2. Plasterboard wall plug
For use when attaching light loads on to plasterboard partitions.
3. Cavity Fixing wall plug
For use with plasterboard partitions or hollow wooden doors.
4. Cavity Fixing - Heavy Duty wall plug
For use when fitting or supporting heavy loads such as shelving, wall cabi-
nets and coat racks.
5. Hammer Fixing wall plug
For use with walls stuck with plasterboard. The hammer fixing allows it to
be fixed to the wall rather than the plasterboard. Always check the fixing is
secure to the retaining wall.
6. Shield Anchor wall plug - Heavy loads
For use with heavier loads such as TV and Hi-Fi speakers and satellite dishes
etc.
Safety: Periodically check all fittings and wall fixings to ensure they
have not come loose and retighten as necessary.
Aktivierung / Activation / Activation /
Attivazione / Activación

Related product manuals