EasyManua.ls Logo

ETA Systems PD8L - Page 2

ETA Systems PD8L
2 pages
Print Icon
To Previous Page IconTo Previous Page
To Previous Page IconTo Previous Page
Loading...
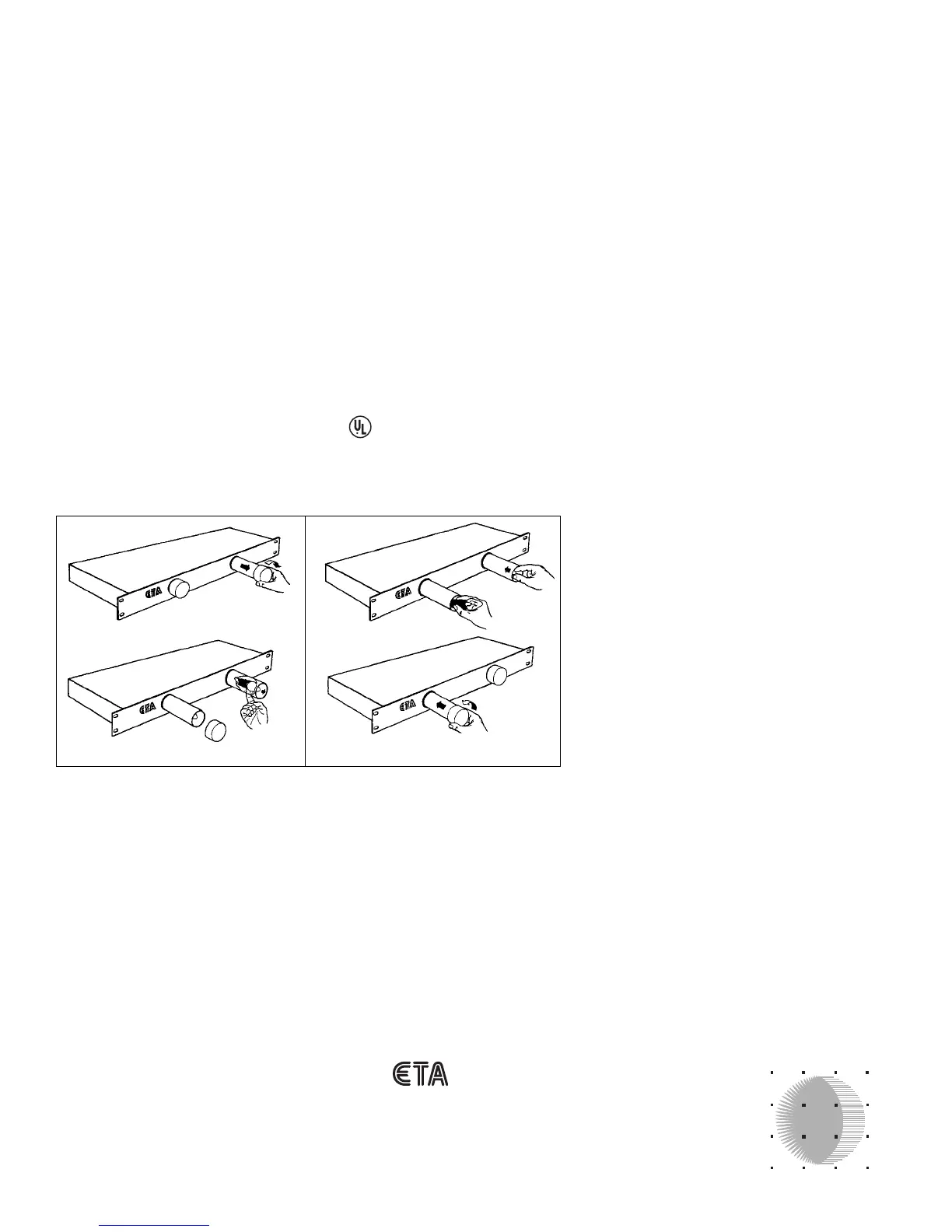
EASY 4-STEP BULB REPLACEMENT 120 volt 4 watt bulb (Christmas tree bulb)
SPECIFICATIONS:
Dimensions 19" L x 8" D x 1
3
/
4
" H
Weight 7 lbs. (less packaging)
Housing Quality
Black powder coated chassis
Electrical 120V, 50/60 Hz, single phase
Max. amps 15/unit
Max. watts 1800/unit
Spike/surge protection Line to neutral, neutral to ground,
line to ground
Surge protection alarm yes
Response time < 1 nanosecond
Max. clamping voltage 330V
Max. spike current 65,000 amps
Max. surge energy 1665 joules total (555 per leg)
Noise filter (EMI/RFI) Frequency 150 kHz -100 MHz
Attenuation up to 68 dB
Certification UL 1449 Listed
MODELS PD8 / PD8L : CONDITIONED POWER DISTRIBUTION
PD8 AND PD8L FEATURES
15 amp input – breaker protected
• 8 AC outlets
• Surge protection alarm
• Spike, surge and EMI/RFI filtered
• Watchdog protected circuitry with
“Go/No Go” L.E.D. display
• Rack illuminators
1 rack space
3 year limited warranty
When You’re Ready to Move Up,
Check Out The Complete ETA Pro Series
At Your ETA Dealer
Select from UL and ETL Listed Conditioned Power
Distribution Units, AC Line Voltage Regulators/
Stabilizers, Sequential Power Turn-on Units and Rack
Mounted High Amperage Output Distribution Boxes.
CE Compliant Models also available from
authorized International Distributors
1. Twist cap clockwise
2. Release bulb & socket
3. Replace bulb
4. Replace socket, turn cap counter-clockwise
All designs and specifications are subject to change without notice. 6/00 6MAN-029
Copyright © 2000 ETA Systems.
TM
A Creative Light & Sound Company
Division of National Biological Corporation
1532 Enterprise Parkway Twinsburg, Ohio 44087 USA
330-425-3388 800-321-6699 • Fax: 330-425-9700
http://www.etasys.com E-mail eta@etasys.com
®
SYSTEMS