EasyManua.ls Logo

Ethos Overdrive - Page 4

Default Icon
8 pages
Print Icon
To Next Page IconTo Next Page
To Next Page IconTo Next Page
To Previous Page IconTo Previous Page
To Previous Page IconTo Previous Page
Loading...
Page 4
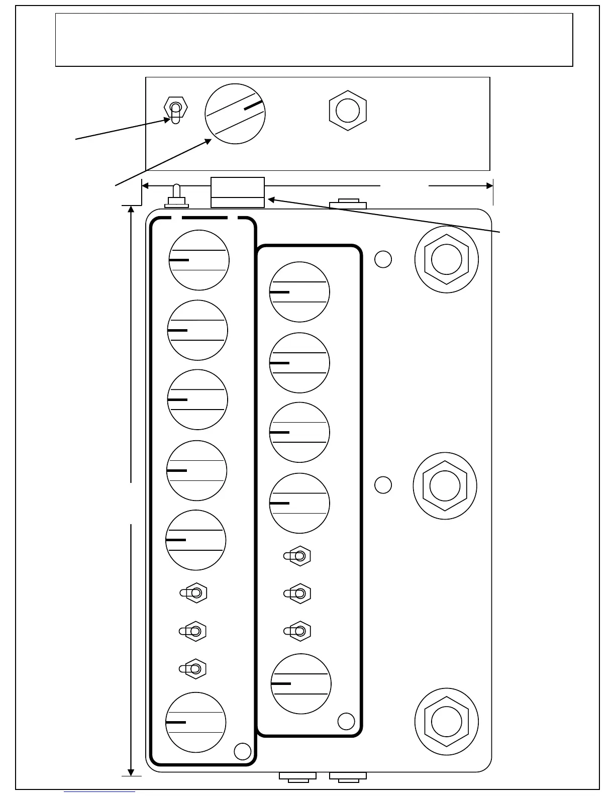
ETHOS
Overdrive Amp User’s Manual
100% Analog Circuitry
IN
ACTIVE
CH SEL BOOST
OUT
SPK
SIM
OUT
TREBLE GAIN
VOL
MIDDLE
BASS PRES
BRITE MODERN
JAZZ
ROCK
CLASSIC
TREBLE GAIN MIDDLE
BASS PRES
BRITE MODERN
JAZZ
ROCK
CLASSIC
Custom Tones LLC.
ETHOS
Overdrive
HI-CUT
GUITAR AMP COMPENSATION
(ACTIVE = UP POSITION)
TOP VIEW
SIDE
VIEW
Figure 2. PEDAL LAYOUT
Note:
Specifications
are subject to
change without
notice
HC
GAC
4.75”
7.5”
Note: Hi-Cut
Knob extends
0.75” beyond
right hand side
of unit.