EasyManua.ls Logo

EUROM 140 - Page 5

EUROM 140
Print Icon
To Next Page IconTo Next Page
To Next Page IconTo Next Page
To Previous Page IconTo Previous Page
To Previous Page IconTo Previous Page
Loading...
5
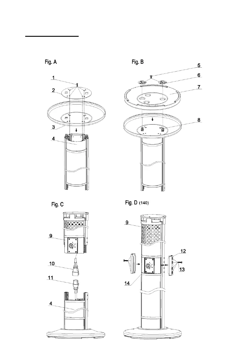
BESCHRIJVING
Loungeheater 140

Related product manuals