EasyManua.ls Logo

EUROM LO80 - Page 7

EUROM LO80
Print Icon
To Next Page IconTo Next Page
To Next Page IconTo Next Page
To Previous Page IconTo Previous Page
To Previous Page IconTo Previous Page
Loading...
7
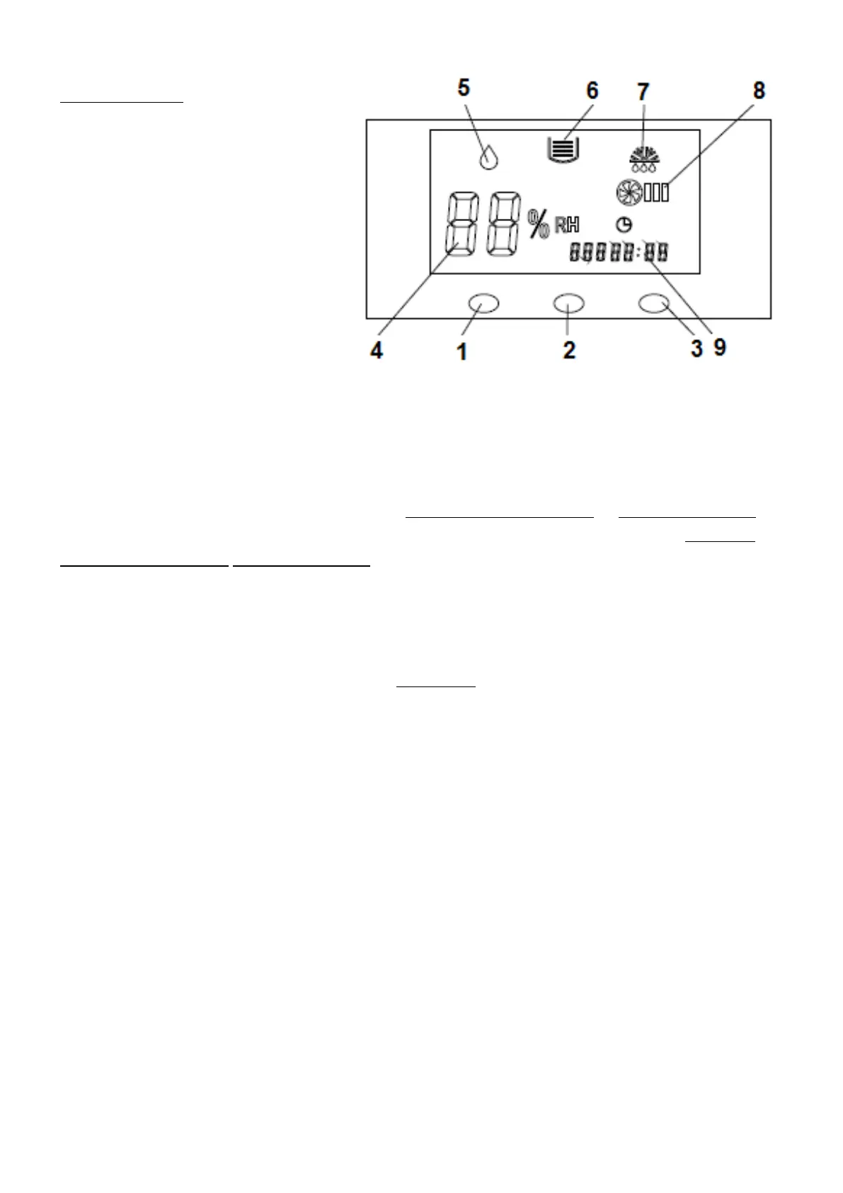
Controlepaneel
1. Aan/Uit-knop
2. Knop vochtigheid hoger
3. Knop vochtigheid lager
4. Display vochtigheid
5. Symbool in werking
6. Symbool water opvangbak vol
7. Symbool ontdooiing
8. Symbool ventilator
9. Urenteller
Start en werking
Controleer of het stopcontact, waarop u de luchtontvochtiger wilt aansluiten, hetzelfde
voltage afgeeft als op het typeplaatje vermeld staat: 220-240V~50Hz.
Steek de stekker in het stopcontact; het apparaat geeft een piepje.
Druk op de aan/uitknop. Het display toont het ‘in werking symbool’ en de actuele
luchtvochtigheid. Wanneer het ‘in werking symbool’ knippert is de luchtvochtigheid lager
de ingestelde luchtvochtigheid. Druk op de knop vochtigheid hoger of vochtigheid lager
om het percentage van de luchtvochtigheid in te stellen. Elke keer dat u op de knoppen
vochtigheid hoger en vochtigheid lager drukt, stelt u de gewenste luchtvochtigheid 1%
hoger dan wel lager in. Als de ingestelde vochtigheid meer dan 3% lager is dan de actuele
vochtigheid, begint het apparaat te werken, tot de actuele waarde 3% lager is dan de
ingestelde vochtigheid. Dan slaat het apparaat af. Als u de luchtvochtigheid instelt op
minder dan 30% zal het apparaat continu blijven ontvochtigen. Het display toont dan
“CO”. Het apparaat is uitgevoerd met een urenteller, die telt hoeveel uren uw apparaat in
totaal heeft gewerkt (in eenheden van 10 minuten). Om het apparaat uit te schakelen
drukt u weer op de aan/uitknop. Het apparaat stopt zijn werking en het display gaat uit.
Let op:
Als de ingestelde vochtigheid hoger is dan de actuele vochtigheid zal het apparaat niet
werken.
Als u ontvochtigt, moet de motor van de ventilator en de compressor minimaal drie
minuten lopen voordat de compressor start. Het is verboden de compressor opnieuw te
starten binnen drie minuten nadat u hem hebt uitgeschakeld. Het is dus mogelijk dat de
motor niet onmiddellijk reageert op in- of uitschakelen!
Als u bij lage temperatuur werkt houdt het apparaat zelf in de gaten wanneer het
noodzakelijk is om te ontdooien. Tijdens het ontdooien licht het bijbehorende lampje
op, de ventilator draait maar de compressor slaat automatisch af.
De apparaten hebben een automatisch geheugen dat de instellingen opslaat en ook
bewaart als de stroomvoorziening uitvalt of wordt onderbroken. Nadat de
stroomvoorziening is hersteld zal het apparaat volgens de eerder ingestelde instructies
zijn werk hervatten.
Het display toont vochtigheidsgraden van 30% tot 90%.

Other manuals for EUROM LO80

Related product manuals