EasyManua.ls Logo

Fac S 220 - Page 64

Fac S 220
80 pages
Print Icon
To Next Page IconTo Next Page
To Next Page IconTo Next Page
To Previous Page IconTo Previous Page
To Previous Page IconTo Previous Page
Loading...
F300 TSV
F350 TSV
62
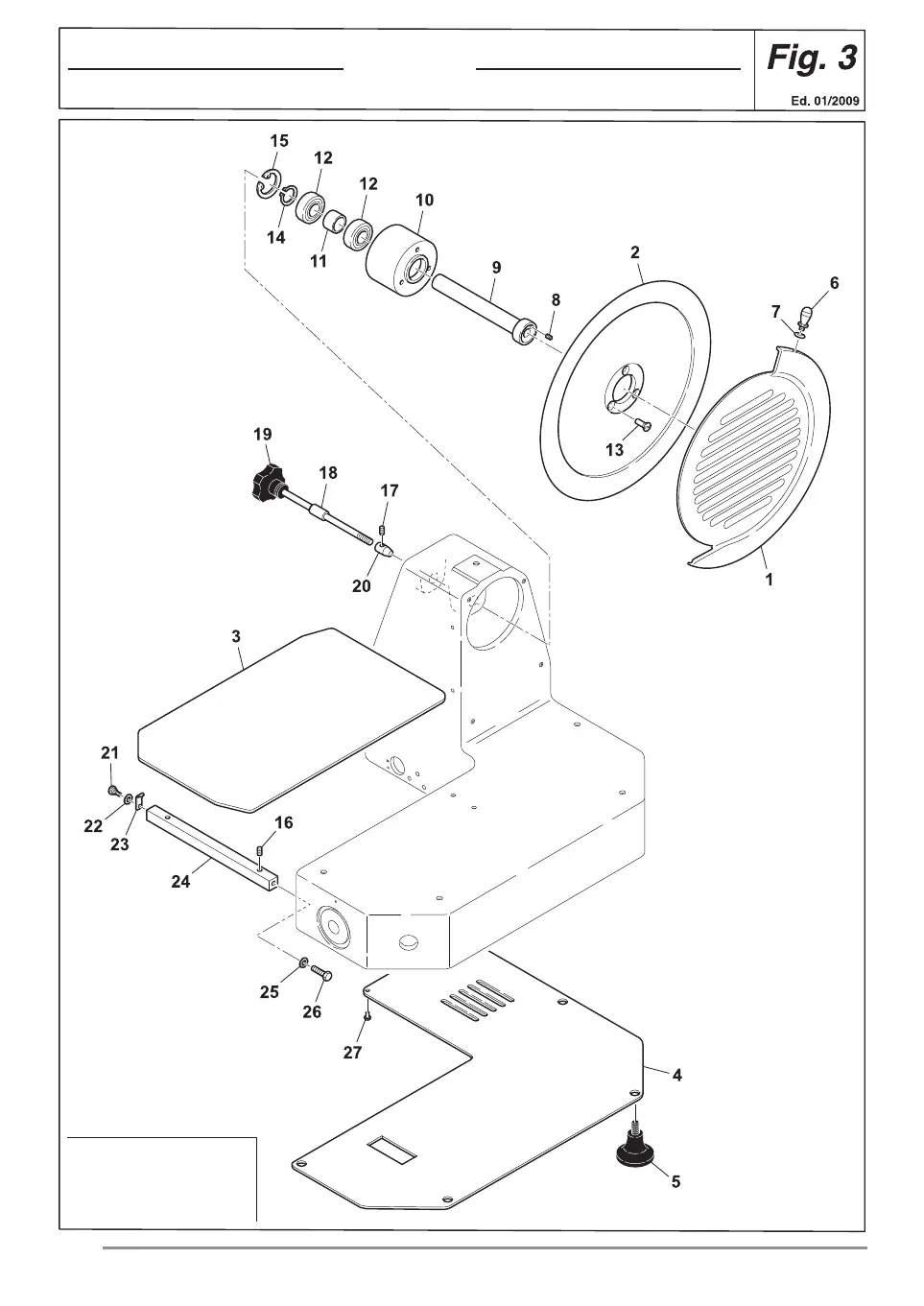
BLADE
F300 TSV
F350 TSV
63
PRODUCT GRIP

Other manuals for Fac S 220

Related product manuals