EasyManua.ls Logo

Fagor SC-35 - Page 32

Fagor SC-35
Print Icon
To Next Page IconTo Next Page
To Next Page IconTo Next Page
To Previous Page IconTo Previous Page
To Previous Page IconTo Previous Page
Loading...
31
MODELO SR/SC-23
ATENCION
Para el modelo SR/SC-23 Calefacción eléctrica NO SE PUEDE realizar el cambio de 400V a
230V sin cambiar el contactor, el interruptor general y la sección de los cables.
Para ello, consultar con el Servicio de Asistencia Técnica.
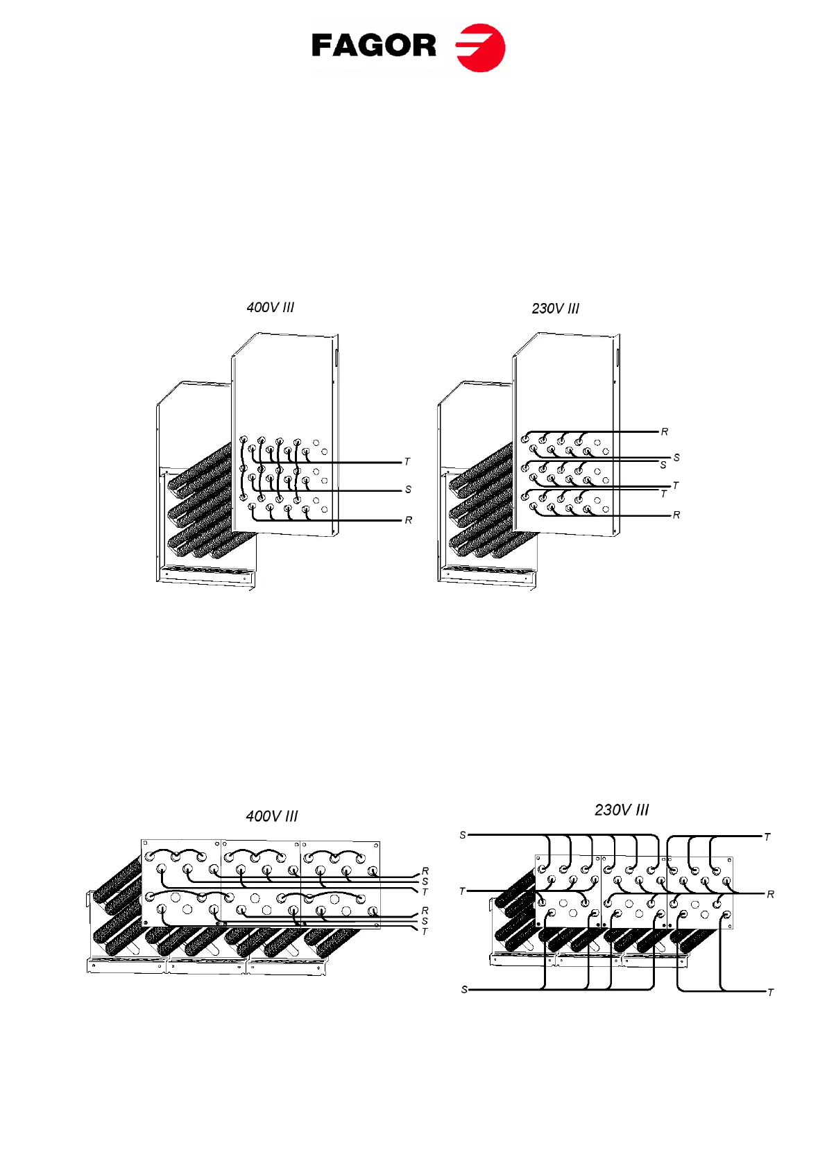
Conjunto resistencias (Solo para calefacción eléctrica)
Únicamente para pasar de 230V a 400V).
Las figuras son una imagen esquemática de las conexiones, no una visión real de las mismas.
MODELO SR/SC-28-35
ATENCION
Para el modelo SR/SC-28-35 Calefacción eléctrica NO SE PUEDE realizar el cambio de 400V a
230V sin cambiar el contactor, el interruptor general y la sección de los cables.
Para ello, consultar con el Servicio de Asistencia Técnica.
Conjunto resistencias (Solo para calefacción eléctrica).
La batería eléctrica de la SR/SC-28 consta de 3 módulos de resistencias:

Related product manuals