EasyManua.ls Logo

Fagor SC-35 - Page 348

Fagor SC-35
Print Icon
To Next Page IconTo Next Page
To Next Page IconTo Next Page
To Previous Page IconTo Previous Page
To Previous Page IconTo Previous Page
Loading...
347
МОДЕЛЬ SR/SC-23
ВНИМАНИЕ
Для модели SR/SC-23 на электрическом нагреве ЗАПРЕЩЕНО осуществлять замену с
400 В на 230 В без замены контактора, главного переключателя и сечений кабелей.
Для этого необходимо проконсультироваться с Отделом технической
поддержки.
Группа напряжений (только для электрического нагревания).
Только для смены с 230В на 400В.
Рисунки представляют собой схематическое изображение соединений, а не их реальный вид.
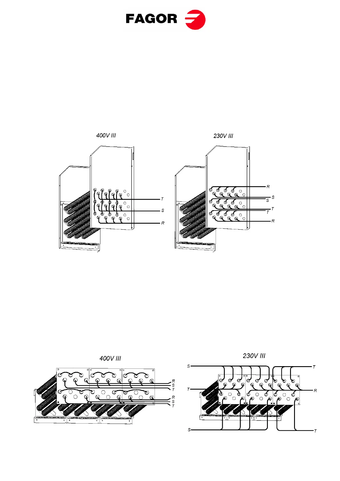
МОДЕЛЬ SR/SC-28/35
ВНИМАНИЕ
Для модели SR/SC-28/35 на электрическом нагреве ЗАПРЕЩЕНО осуществлять
замену с 400 В на 230 В без замены контактора, главного переключателя и сечений
кабелей.
Для этого необходимо проконсультироваться с Отделом технической
поддержки.
Группа напряжений (только для электрического нагревания).
Электрическая батарея модели SR/SC-28 состоит из 3 модулей напряжения:

Related product manuals