EasyManua.ls Logo

Fagor SR-11 - Page 347

Fagor SR-11
Print Icon
To Next Page IconTo Next Page
To Next Page IconTo Next Page
To Previous Page IconTo Previous Page
To Previous Page IconTo Previous Page
Loading...
346
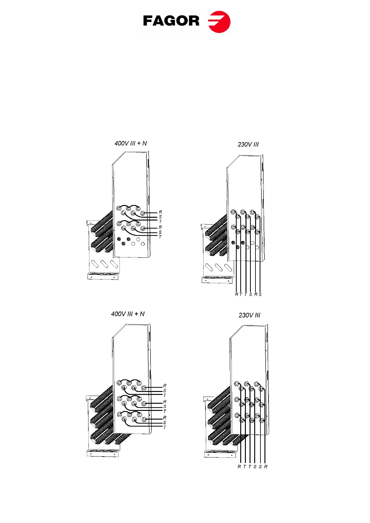
На следующих рисунках графически показаны изменения, которые необходимо осуществить в
электрическом соединении машины, в случае замены напряжения питания.
Только между 400В III +Н и 230В III.
МОДЕЛИ SR/SC-11 y SR/SC-16
Группа напряжений (только для электрического нагревания).
Рисунки представляют собой схематическое изображение соединений, а не их реальный вид.
SR/SC-11
SR/SC-16

Related product manuals