EasyManua.ls Logo

FAURE FFV316K - Page 43

FAURE FFV316K
Print Icon
To Next Page IconTo Next Page
To Next Page IconTo Next Page
To Previous Page IconTo Previous Page
To Previous Page IconTo Previous Page
Loading...
 :UD]LHSRWU]HE\]PLHQLÉSUÛGNRĝÉ
QDFLVNDMÇFRGSRZLHGQLSU]\FLVN
$E\Z\ĄÇF]\ÉXU]ÇG]HQLHQDOHľ\SRQRZQLH
QDFLVQÇÉSLHUZV]\SU]\FLVNZ\ERUXSUÛGNRĝFL
.216(5:$&-$,&=<6=&=(1,(
&=<6=&=(1,(),/75$
35=(&,:7ă86=&=2:(*2
.DľG\]ILOWUµZQDOHľ\F]\ĝFLÉFRQDMPQLHMUD]Z
PLHVLÇFX)LOWU\VÇ]DPRFRZDQH]DSRPRFÇ
]DWU]DVNµZRUD]WU]SLHQLSRSU]HFLZQHMVWURQLH
&]\V]F]HQLHILOWUD
 1DFLVQÇÉXFKZ\W]DWU]DVNXPRFXMÇFHJRQD
SDQHOXILOWUDSRGRNDSHP
1
2
 'HOLNDWQLHRGFK\OLÉSU]HGQLÇF]ÛĝÉILOWUDZGµĄ
DQDVWÛSQLHSRFLÇJQÇÉ
3RZWµU]\ÉRELHF]\QQRĝFLSU]\ZV]\VWNLFK
ILOWUDFK
 2F]\ĝFLÉILOWU\JÇENÇQDVÇF]RQÇĄDJRGQ\P
GHWHUJHQWHPOXEXP\ÉZ]P\ZDUFH
8VWDZLÉZ]P\ZDUFHQLVNÇ
WHPSHUDWXUÛLNUµWNLF\NO]P\ZDQLD
(ZHQWXDOQHRGEDUZLHQLHILOWUD
SU]HFLZWĄXV]F]RZHJRQLHPD
ľDGQHJRZSĄ\ZXQDG]LDĄDQLH
XU]ÇG]HQLD
 =DPRQWRZDÉILOWU\]SRZURWHPZXU]ÇG]HQLX
Z\NRQXMÇFGZLHSLHUZV]HF]\QQRĝFLZ
RGZURWQHMNROHMQRĝFL
3RZWµU]\ÉF]\QQRĝFLZRGQLHVLHQLXGR
ZV]\VWNLFKILOWUµZMHĝOLGRW\F]\
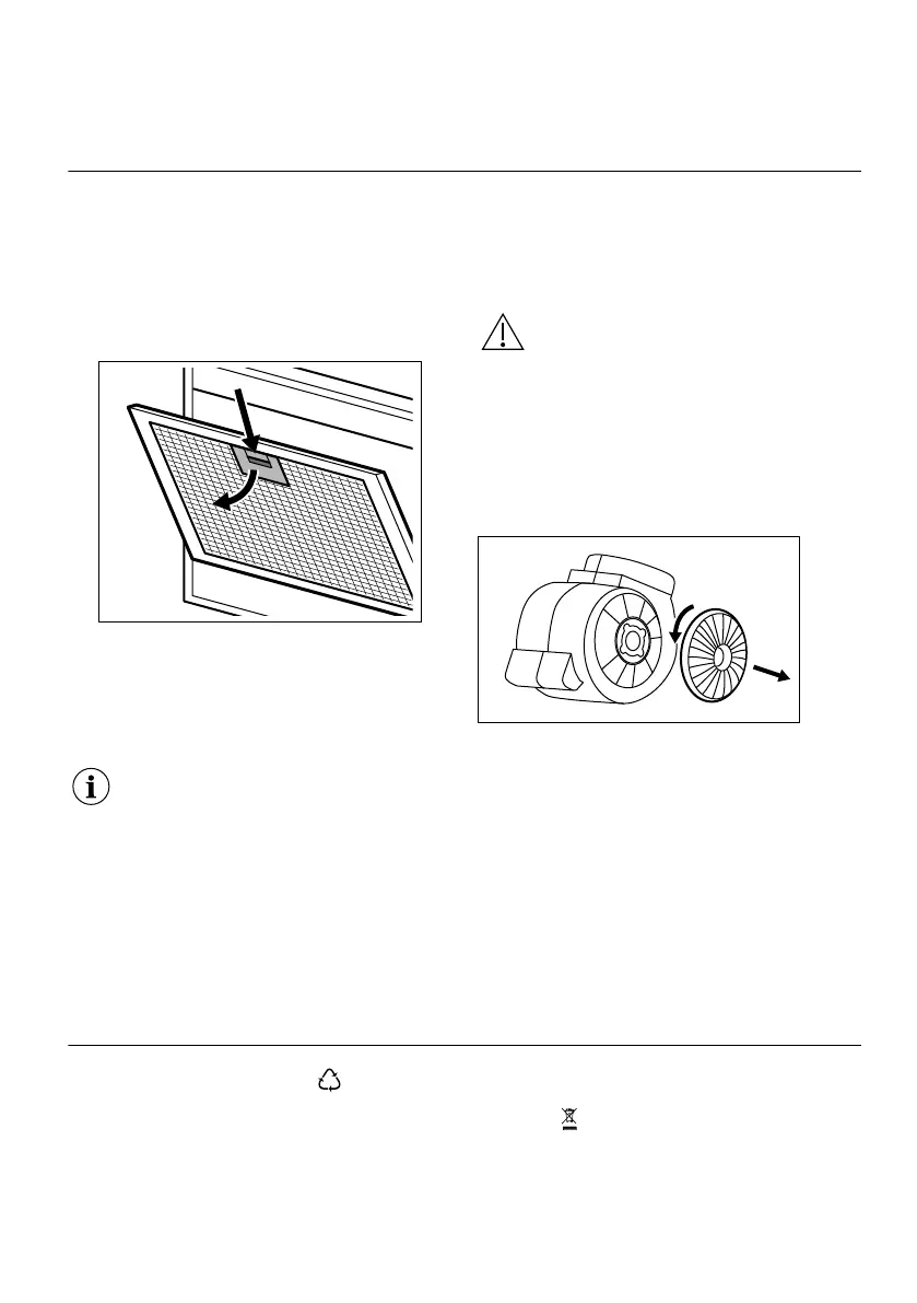
:<0,$1$),/75$:Ú*/2:(*2
Ľ\ZRWQRĝÉILOWUDZÛJORZHJRMHVW]UµľQLFRZDQDL
]DOHľ\RGURG]DMXJRWRZDQ\FKSRWUDZRUD]
F]ÛVWRWOLZRĝFLF]\V]F]HQLDILOWUD
SU]HFLZWĄXV]F]RZHJR
2675=(Ƽ(1,()LOWUZÛJORZ\1,(
MHVWSU]\VWRVRZDQ\GRP\FLD)LOWU
ZÛJORZ\QLHMHVWSU]\VWRVRZDQ\GR
UHJHQHUDFML
$E\Z\PLHQLÉILOWUZÛJORZ\QDOHƽ\
 :\MÇÉILOWU\SU]HFLZWĄXV]F]RZH]XU]ÇG]HQLD
3DWU]ಱ&]\V]F]HQLHILOWUDSU]HFLZWĄXV]F]RZHJRರZ
W\PUR]G]LDOH
 2EUµFLÉILOWUSU]HFLZQLHGRUXFKXZVND]µZHN
]HJDUDDQDVWÛSQLHSRFLÇJQÇÉ
1
2
$E\]SRZURWHP]PRQWRZDÉILOWU\QDOHľ\
Z\NRQDÉRSLVDQHF]\QQRĝFLZRGZURWQHM
NROHMQRĝFL
:<0,$1$2Ĝ:,(7/(1,$
8U]ÇG]HQLHZ\SRVDľRQRZRĝZLHWOHQLH/('
(OHPHQWWHQPRľHZ\PLHQLÉW\ONRVSHFMDOLVWD
VHUZLVRZ\:SU]\SDGNXZ\VWÇSLHQLDXVWHUNL
SDWU]ಱ6HUZLVರZUR]G]LDOHಱ:VND]µZNLGRW\F]ÇFH
EH]SLHF]HĆVWZDರ
2&+521$Ĝ52'2:,6.$
0DWHULDĄ\R]QDF]RQHV\PEROHP QDOHľ\
SRGGDÉXW\OL]DFML2SDNRZDQLHXU]ÇG]HQLDZĄRľ\É
GRRGSRZLHGQLHJRSRMHPQLNDZFHOX
SU]HSURZDG]HQLDUHF\NOLQJX1DOHľ\]DGEDÉR
SRQRZQHSU]HWZDU]DQLHRGSDGµZXU]ÇG]HĆ
HOHNWU\F]Q\FKLHOHNWURQLF]Q\FKDE\FKURQLÉ
ĝURGRZLVNRQDWXUDOQHRUD]OXG]NLH]GURZLH1LH
ZROQRZ\U]XFDÉXU]ÇG]HĆR]QDF]RQ\FK
V\PEROHP
UD]HP]RGSDGDPLGRPRZ\PL
1DOHľ\]ZUµFLÉSURGXNWGRPLHMVFRZHJRSXQNWX
SRQRZQHJRSU]HWZDU]DQLDOXEVNRQWDNWRZDÉVLÛ]
RGSRZLHGQLPLZĄDG]DPLPLHMVNLPL
43

Related product manuals