EasyManua.ls Logo

FAURE FFV316K - Page 7

FAURE FFV316K
Print Icon
To Next Page IconTo Next Page
To Next Page IconTo Next Page
To Previous Page IconTo Previous Page
To Previous Page IconTo Previous Page
Loading...
Î,ơÈ(1-(,2'5ƾ$9$1-(
Î,ơÈ(1-(),/75$=$0$612È8
6YDNLILOWDUPRUDVHÏLVWLWLQDMPDQMHMHGQRP
PMHVHÏQR)LOWULVHPRQWLUDMXSRPRÉXNRSÏLL
]DWLNDQDVXSURWQRMVWUDQL
ÎLƢÉHQMHILOWUD
 3ULWLVQLWHUXÏNXPRQWDŀQHNRSÏHQDSORÏLILOWUD
LVSRGQDSH
1
2
 /DJDQRQDJQLWHSUHGQMLGLRILOWUDSUHPDGROMH
D]DWLPJDSRYXFLWH
3RQRYLWHSUYDGYDNRUDND]DVYHILOWUH
 2ÏLVWLWHILOWUHSRPRÉXVSXŀYHVGHWHUGŀHQWLPD
NRMLQLVXDEUD]LYQLLOLXVWURMX]DSUDQMH
SRVXÓD
3HULOLFDPRUDELWLSRVWDYOMHQDQD
QLVNXWHPSHUDWXUXLNUDWDNFLNOXV
)LOWDU]DPDVQRÉXPRŀHL]JXELWLERMX
QHPDXWMHFDMDQDUDGXUHÓDMD
 =DPRQWDŀXILOWUDVOLMHGLWHSUYDGYDNRUDND
REUQXWLPUHGRVOLMHGRP
3RQRYLWHNRUDNH]DVYHILOWUHDNRMHSULPMHQMLYR
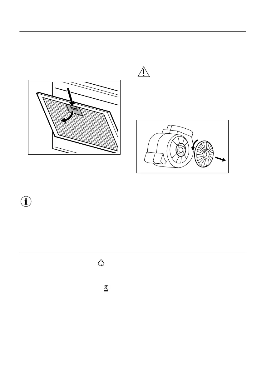
=$0-(1$),/75$68*/-(120
9ULMHPH]DVLÉHQMDILOWUDVXJOMHQRPYDULUDRYLVQRR
YUVWLNXKDQMDLSUDYLOQRVWLÏLģÉHQMDILOWUD]D
PDVQRÉX
832=25(1-()LOWDUVXJOMHQRPMH
1(SHULY)LOWDUVHQHPRŀHREQRYLWL
=DPMHQDILOWUDVXJOMHQRP
 ,]YDGLWHILOWUH]DPDVQRÉXL]XUHÓDMD
3RJOHGDMWHÎLģÉHQMHILOWUD]DPDVQRÉXXRYRP
SRJODYOMX
 2NUHQLWHILOWDUXVPMHUXVXSURWQRPRG
ND]DOMNHQDVDWXL]DWLPSRYXFLWH
1
2
=DPRQWDŀXILOWUDVOLMHGLWHNRUDNHREUQXWLP
UHGRVOLMHGRP
=$0-(1$ƾ$58/-(
2YDMXUHÓDMRSUHPOMHQMH/('ŀDUXOMRP2YDMGLR
PRŀH]DPLMHQLWLVDPRWHKQLÏDU8VOXÏDMXELOR
NDNYHQHLVSUDYQRVWLSRJOHGDMWH6HUYLVX
SRJODYOMX6LJXUQRVQHXSXWH
%5,*$=$2.2/,ơ
5HFLNOLUDMWHPDWHULMDOHVDVLPERORP $PEDODŀX
]DUHFLNOLUDQMHRGORŀLWHXSULNODGQHVSUHPQLNH
3RPR]LWHX]DģWLWLRNROLģDLOMXGVNRJ]GUDYOMDNDR
LXUHFLNOLUDQMXRWSDGDRGHOHNWULÏQLKLHOHNWURQLÏNLK
XUHÓDMD8UHÓDMHR]QDÏHQHVLPERORP
QH
EDFDMWH]DMHGQRVNXÉQLPRWSDGRP3URL]YRG
RGQHVLWHQDORNDOQRUHFLNODŀQRPMHVWRLOL
NRQWDNWLUDMWHQDGOHŀQXVOXŀEX
7

Related product manuals