EasyManua.ls Logo

Fazzini F-31 - Page 8

Default Icon
12 pages
Print Icon
To Next Page IconTo Next Page
To Next Page IconTo Next Page
To Previous Page IconTo Previous Page
To Previous Page IconTo Previous Page
Loading...
Suction Unit
F-31
Service Manual
Doc : Service Manual - F-31.doc Rev. 2 / 12 APR 2006
Page 8 of 12
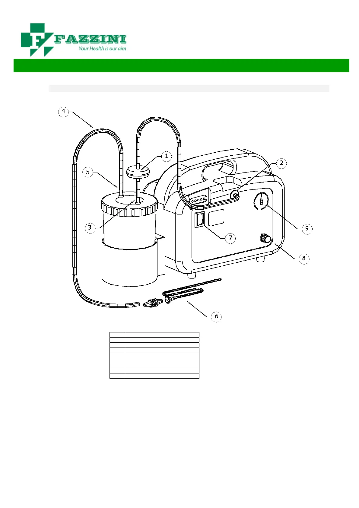
Legenda F-31.xx
1 Filter
2 Vacuum drive
3 Jar drive to the filter
4 Disposable tube to the patient
5 Jar drive to the patient
6 Suction catheter CH 14
7 Main switch
8 Vacuum regulator
9 Vacuum gauge

Related product manuals