EasyManua.ls Logo

FEDCO MSS-55 - Page 44

Default Icon
61 pages
Print Icon
To Next Page IconTo Next Page
To Next Page IconTo Next Page
To Previous Page IconTo Previous Page
To Previous Page IconTo Previous Page
Loading...
MSS
TM
Series
© Copyright 2022 Fluid Equipment Development Company | www.fedco-usa.com
- 44 -
Figure 95 - Starting Stage Installation
4. For:
MSS-15/20/30 Pumps:
Install the rst stage housing (di󰀨user bowl)
onto the inlet ring. Note that the rst stage
housing (di󰀨user) can be identied by the
lack of vanes on the bottom of the bowl.
MSS-50/70 Pumps:
Install the rst di󰀨user bowl onto the inlet
ring.
NOTES: Verify di󰀨user bushings have been
pre-installed before assembly.
Figure 94 - First Stage Spacer Installation
3. Install the rst stage (start) spacer onto the
pump shaft until it comes into contact with
the shaft collar sleeve.
NOTES: The start spacer must contact the col-
lar sleeve as shown. If the collar sleeve’s cup
side if facing up, it is on upside down.
NOTES: The rst stage spacer is dimension-
ally di󰀨erent from the stage spacers. On some
installations, this start spacer may be engraved
to help distinguish it from standard stock spac-
ers.
NOTES: MSS-50/70 stage components may
di󰀨er in size/ shape.
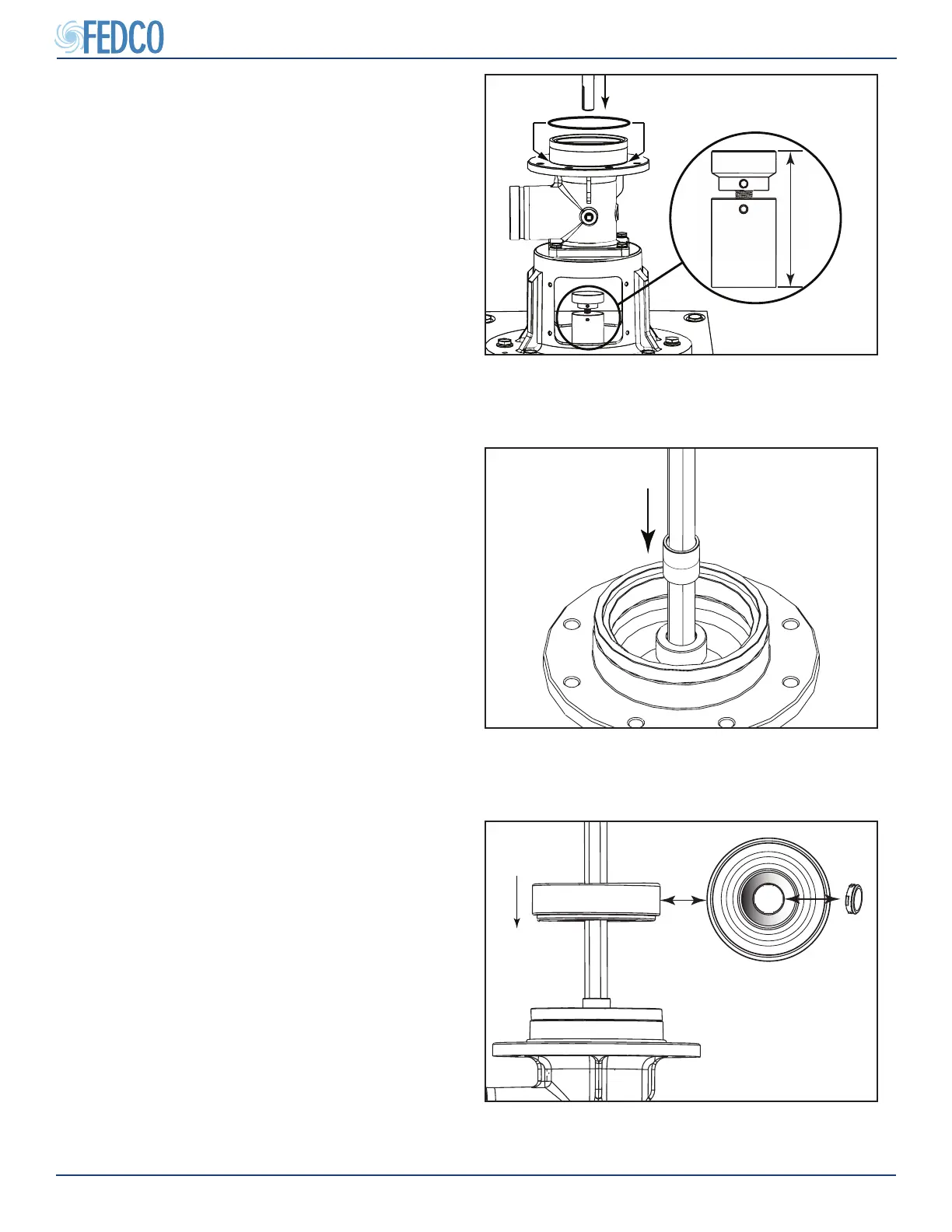
Figure 93 - Shaft Installation
e. Slowly lower the pump shaft into the inlet
until the pump shaft end rests on the gage
block.
2. Lubricate and install the inlet O-ring.
NOTES: Gauge block height should be preset
from the stage removal section. Verify height
before building. Contact FEDCO eld service
for gauge block height if unknown. The pump
serial number must be provided.
Pump Overhaul Continued

Related product manuals