EasyManua.ls Logo

Finterm OIL 14 - Electrical Wiring Diagrams for Models; OIL Model Wiring Diagram; OIL PR Model Wiring Diagram

Default Icon
37 pages
Print Icon
To Next Page IconTo Next Page
To Next Page IconTo Next Page
To Previous Page IconTo Previous Page
To Previous Page IconTo Previous Page
Loading...
30
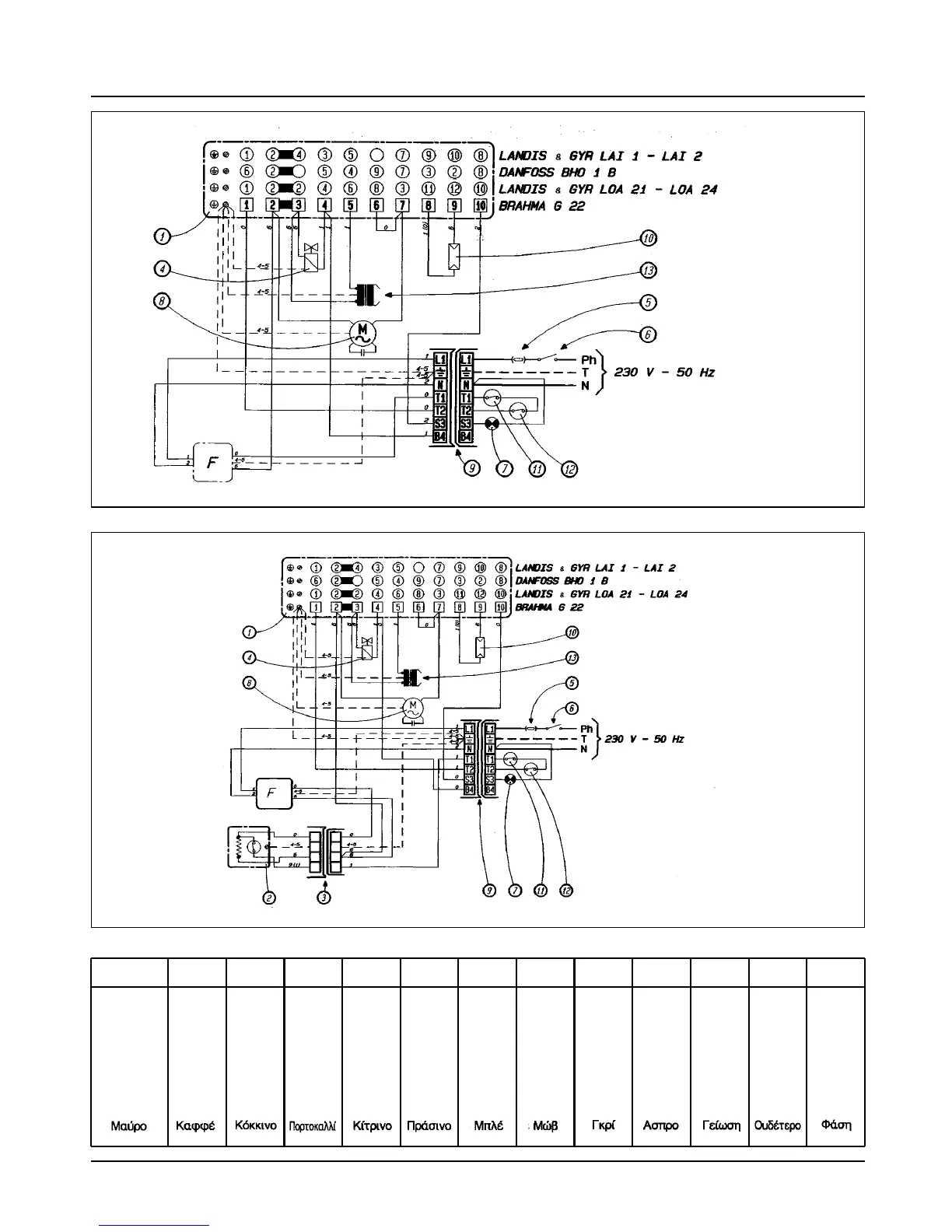
FIG. 6
FIG. 6
OIL
DIS. 203512
DIS. 203530
OIL PR
0
Nero
Black
Schwarz
Noir
Negro
Zwart
Marrone
Brown
Braun
Marron
Marrón
Bruin
Rosso
Red
Rot
Rouge
Rojo
Rood
Arancio
Orange
Orange
Orange
Naranja
Oranje
Giallo
Yellow
Gelb
Jaune
Amarillo
Geel
Verde
Green
Grün
Vert
Verde
Groen
Blu
Blue
Blau
Bleu
Azul
Blauw
Viola
Violet
Violett
Violet
Violeta
Paars
Grigio
Grey
Grau
Gris
Gris
Grijs
Bianco
White
Weiß
Blanc
Blanco
Wit
Terra
Earth
Erde
Terre
Tierra
Aarde
Neutro
Neutral
Null
Neutre
Neutro
Nulleider
Fase
Phase
Phase
Phase
Fase
Fase
1234567
8
9TNPH

Related product manuals