EasyManua.ls Logo

FONESTAR AS-170PLUS - Menu Operation; Menu Navigation; Common Operation Options

FONESTAR AS-170PLUS
32 pages
Print Icon
To Next Page IconTo Next Page
To Next Page IconTo Next Page
To Previous Page IconTo Previous Page
To Previous Page IconTo Previous Page
Loading...
EN
- 4 -
7.- : turns the audio output on/off.
8.-
: On/Standby button on the player.
9.-
: active mode menu access. To exit, press the button again. For more information, please refer to the
MENU section
10.- INFO: in USB mode, press this button repeatedly to modify the additional information ID3 to be displayed
on the screen: OFF (no additional information displayed), TITLE (song title), ARTIST, ALBUM, or FILE
(song name).
11.- VOL-/VOL+: amplifier volume controls.
12.-
/OK: in USB and Bluetooth mode, you can start and pause playback.
In the menu, allows you to select the option displayed on the screen.
13.-
: in USB mode, select play mode: Press OK to validate the selection. The options are: OFF (plays all
songs in order and stops), ALL (repeats all), FOLDER (repeats all songs in a folder) or ONE (repeats 1
song).
14.- TREBLE: boosts/attenuates low frequencies.
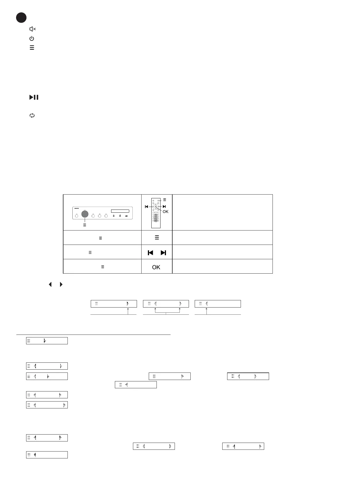
MENU
USB, Bluetooth and FM modes have their own options as well as options common to all modes.
Use the
amplifier or the remote control to scroll through the menu:
Long press
Rotate
Short press
Enter menu + exit menu (control only)
Navigation through options
Select option
MENU FUNCTION
NOTE: the / symbols displayed next to the menu options indicate whether or not there are any more
options.
Select the desired frequency
Seleccione la frecuencia deseada
Sélectionnez la fréquence souhaitée
Selecione a frequência desejada
MOVE
MANUAL MEMO
MOVE CHANNEL
1
2
3
4
1
2
Select memory location
Seleccione la posición de memoria
Sélectionnez la position de mémoire
Selecione a posição de memória
M01 XX,X
T0 M02
+
MEMORY
+
OK
+
OK
+
OK
Choose the channel you want to move
Elija el canal que desea mover
Choisissez le canal que vous souhaitez bouger
Escolha o canal que deseja mover
+
OK
Select the target memory location
Seleccione la posición de memoria destino
Sélectionnez la position de mémoire finale
Selecione a posição de memória de destino
3
4
OK
+
OK
+
OK
BALANCE
MIC
EQ
ECHO
VOL, SET
VOL, MAX
EXIT
VOL, INIT
A/B GR,
XXXXXXX XXXXXXX XXXXXXX
FOLDER
RANDOM
REPEAT
ID3 TAG
ALBUM
FILE
EXIT
AUTO MEM
SCAN
MOVE
DELETE
PAIRING
PAIR
BLUETOOTH
DEL ALL
DEL MO1
DEL MO2
SAVE 01
SAVE
MEMORY
DEL MXX
OFF
PROG, SERV
RADIO, TXT
PROG, TYPE
RDS
MEMORY
XXX, XX
SAVE
GROUP A
GROUP B
GROUP A+B
OFF
TITLE
ARTIST
OPTION 2 OPTION 3 ... OPTION XOPTION 1
OPTIONS COMMON TO ALL MODES OF OPERATION:
-
Select the desired frequency
Seleccione la frecuencia deseada
Sélectionnez la fréquence souhaitée
Selecione a frequência desejada
MOVE
MANUAL MEMO
MOVE CHANNEL
1
2
3
4
1
2
Select memory location
Seleccione la posición de memoria
Sélectionnez la position de mémoire
Selecione a posição de memória
M01 XX,X
T0 M02
+
MEMORY
+
OK
+
OK
+
OK
Choose the channel you want to move
Elija el canal que desea mover
Choisissez le canal que vous souhaitez bouger
Escolha o canal que deseja mover
+
OK
Select the target memory location
Seleccione la posición de memoria destino
Sélectionnez la position de mémoire finale
Selecione a posição de memória de destino
3
4
OK
+
OK
+
OK
BALANCE
MIC
EQ
ECHO
VOL, SET
VOL, MAX
EXIT
VOL, INIT
A/B GR,
XXXXXXX XXXXXXX XXXXXXX
FOLDER
RANDOM
REPEAT
ID3 TAG
ALBUM
FILE
EXIT
AUTO MEM
SCAN
MOVE
DELETE
PAIRING
PAIR
BLUETOOTH
DEL ALL
DEL MO1
DEL MO2
SAVE 01
SAVE
MEMORY
DEL MXX
OFF
PROG, SERV
RADIO, TXT
PROG, TYPE
RDS
MEMORY
XXX, XX
SAVE
GROUP A
GROUP B
GROUP A+B
OFF
TITLE
ARTIST
OPCIÓN 2 OPCIÓN 3 ... OPCIÓN 1 OPCIÓN X
OPTION 2 OPTION 3 ... OPTION XOPTION 1 OPTION 2 OPTION 3 ... OPTION XOPTION 1
OPÇÃO 2 OPÇÃO 3 ... OPÇÃO 1 OPÇÃO X
: allows you to select between the different preset equalizations. CLASSIC, ROCK, POP,
JAZZ, BASS01, BASS02, L+BASS (boosts left channel bass), R+BASS (boosts right channel bass) or
EQ,OFF (no equalization).
-
Select the desired frequency
Seleccione la frecuencia deseada
Sélectionnez la fréquence souhaitée
Selecione a frequência desejada
MOVE
MANUAL MEMO
MOVE CHANNEL
1
2
3
4
1
2
Select memory location
Seleccione la posición de memoria
Sélectionnez la position de mémoire
Selecione a posição de memória
M01 XX,X
T0 M02
+
MEMORY
+
OK
+
OK
+
OK
Choose the channel you want to move
Elija el canal que desea mover
Choisissez le canal que vous souhaitez bouger
Escolha o canal que deseja mover
+
OK
Select the target memory location
Seleccione la posición de memoria destino
Sélectionnez la position de mémoire finale
Selecione a posição de memória de destino
3
4
OK
+
OK
+
OK
BALANCE
MIC
EQ
ECHO
VOL, SET
VOL, MAX
EXIT
VOL, INIT
A/B GR,
XXXXXXX XXXXXXX XXXXXXX
FOLDER
RANDOM
REPEAT
ID3 TAG
ALBUM
FILE
EXIT
AUTO MEM
SCAN
MOVE
DELETE
PAIRING
PAIR
BLUETOOTH
DEL ALL
DEL MO1
DEL MO2
SAVE 01
SAVE
MEMORY
DEL MXX
OFF
PROG, SERV
RADIO, TXT
PROG, TYPE
RDS
MEMORY
XXX, XX
SAVE
GROUP A
GROUP B
GROUP A+B
OFF
TITLE
ARTIST
OPCIÓN 2 OPCIÓN 3 ... OPCIÓN 1 OPCIÓN X
OPTION 2 OPTION 3 ... OPTION XOPTION 1 OPTION 2 OPTION 3 ... OPTION XOPTION 1
OPÇÃO 2 OPÇÃO 3 ... OPÇÃO 1 OPÇÃO X
: output balance settings (L: Left channel, R: Right channel, or 00: No balance).
-
Select the desired frequency
Seleccione la frecuencia deseada
Sélectionnez la fréquence souhaitée
Selecione a frequência desejada
MOVE
MANUAL MEMO
MOVE CHANNEL
1
2
3
4
1
2
Select memory location
Seleccione la posición de memoria
Sélectionnez la position de mémoire
Selecione a posição de memória
M01 XX,X
T0 M02
+
MEMORY
+
OK
+
OK
+
OK
Choose the channel you want to move
Elija el canal que desea mover
Choisissez le canal que vous souhaitez bouger
Escolha o canal que deseja mover
+
OK
Select the target memory location
Seleccione la posición de memoria destino
Sélectionnez la position de mémoire finale
Selecione a posição de memória de destino
3
4
OK
+
OK
+
OK
BALANCE
MIC
EQ
ECHO
VOL, SET
VOL, MAX
EXIT
VOL, INIT
A/B GR,
XXXXXXX XXXXXXX XXXXXXX
FOLDER
RANDOM
REPEAT
ID3 TAG
ALBUM
FILE
EXIT
AUTO MEM
SCAN
MOVE
DELETE
PAIRING
PAIR
BLUETOOTH
DEL ALL
DEL MO1
DEL MO2
SAVE 01
SAVE
MEMORY
DEL MXX
OFF
PROG, SERV
RADIO, TXT
PROG, TYPE
RDS
MEMORY
XXX, XX
SAVE
GROUP A
GROUP B
GROUP A+B
OFF
TITLE
ARTIST
OPCIÓN 2 OPCIÓN 3 ... OPCIÓN 1 OPCIÓN X
OPTION 2 OPTION 3 ... OPTION XOPTION 1 OPTION 2 OPTION 3 ... OPTION XOPTION 1
OPÇÃO 2 OPÇÃO 3 ... OPÇÃO 1 OPÇÃO X
: microphone input settings:
Select the desired frequency
Seleccione la frecuencia deseada
Sélectionnez la fréquence souhaitée
Selecione a frequência desejada
MOVE
MANUAL MEMO
MOVE CHANNEL
1
2
3
4
1
2
Select memory location
Seleccione la posición de memoria
Sélectionnez la position de mémoire
Selecione a posição de memória
M01 XX,X
T0 M02
+
MEMORY
+
OK
+
OK
+
OK
Choose the channel you want to move
Elija el canal que desea mover
Choisissez le canal que vous souhaitez bouger
Escolha o canal que deseja mover
+
OK
Select the target memory location
Seleccione la posición de memoria destino
Sélectionnez la position de mémoire finale
Selecione a posição de memória de destino
3
4
OK
+
OK
+
OK
BALANCE
MIC
EQ
ECHO
VOL, SET
VOL, MAX
EXIT
VOL, INIT
A/B GR,
XXXXXXX XXXXXXX XXXXXXX
FOLDER
RANDOM
REPEAT
ID3 TAG
ALBUM
FILE
EXIT
AUTO MEM
SCAN
MOVE
DELETE
PAIRING
PAIR
BLUETOOTH
DEL ALL
DEL MO1
DEL MO2
SAVE 01
SAVE
MEMORY
DEL MXX
OFF
PROG, SERV
RADIO, TXT
PROG, TYPE
RDS
MEMORY
XXX, XX
SAVE
GROUP A
GROUP B
GROUP A+B
OFF
TITLE
ARTIST
OPCIÓN 2 OPCIÓN 3 ... OPCIÓN 1 OPCIÓN X
OPTION 2 OPTION 3 ... OPTION XOPTION 1 OPTION 2 OPTION 3 ... OPTION XOPTION 1
OPÇÃO 2 OPÇÃO 3 ... OPÇÃO 1 OPÇÃO X
volume and
Select the desired frequency
Seleccione la frecuencia deseada
Sélectionnez la fréquence souhaitée
Selecione a frequência desejada
MOVE
MANUAL MEMO
MOVE CHANNEL
1
2
3
4
1
2
Select memory location
Seleccione la posición de memoria
Sélectionnez la position de mémoire
Selecione a posição de memória
M01 XX,X
T0 M02
+
MEMORY
+
OK
+
OK
+
OK
Choose the channel you want to move
Elija el canal que desea mover
Choisissez le canal que vous souhaitez bouger
Escolha o canal que deseja mover
+
OK
Select the target memory location
Seleccione la posición de memoria destino
Sélectionnez la position de mémoire finale
Selecione a posição de memória de destino
3
4
OK
+
OK
+
OK
BALANCE
MIC
EQ
ECHO
VOL, SET
VOL, MAX
EXIT
VOL, INIT
A/B GR,
XXXXXXX XXXXXXX XXXXXXX
FOLDER
RANDOM
REPEAT
ID3 TAG
ALBUM
FILE
EXIT
AUTO MEM
SCAN
MOVE
DELETE
PAIRING
PAIR
BLUETOOTH
DEL ALL
DEL MO1
DEL MO2
SAVE 01
SAVE
MEMORY
DEL MXX
OFF
PROG, SERV
RADIO, TXT
PROG, TYPE
RDS
MEMORY
XXX, XX
SAVE
GROUP A
GROUP B
GROUP A+B
OFF
TITLE
ARTIST
OPCIÓN 2 OPCIÓN 3 ... OPCIÓN 1 OPCIÓN X
OPTION 2 OPTION 3 ... OPTION XOPTION 1 OPTION 2 OPTION 3 ... OPTION XOPTION 1
OPÇÃO 2 OPÇÃO 3 ... OPÇÃO 1 OPÇÃO X
applies the echo
effect to the microphone input.
Select the desired frequency
Seleccione la frecuencia deseada
Sélectionnez la fréquence souhaitée
Selecione a frequência desejada
MOVE
MANUAL MEMO
MOVE CHANNEL
1
2
3
4
1
2
Select memory location
Seleccione la posición de memoria
Sélectionnez la position de mémoire
Selecione a posição de memória
M01 XX,X
T0 M02
+
MEMORY
+
OK
+
OK
+
OK
Choose the channel you want to move
Elija el canal que desea mover
Choisissez le canal que vous souhaitez bouger
Escolha o canal que deseja mover
+
OK
Select the target memory location
Seleccione la posición de memoria destino
Sélectionnez la position de mémoire finale
Selecione a posição de memória de destino
3
4
OK
+
OK
+
OK
BALANCE
MIC
EQ
ECHO
VOL, SET
VOL, MAX
EXIT
VOL, INIT
A/B GR,
XXXXXXX XXXXXXX XXXXXXX
FOLDER
RANDOM
REPEAT
ID3 TAG
ALBUM
FILE
EXIT
AUTO MEM
SCAN
MOVE
DELETE
PAIRING
PAIR
BLUETOOTH
DEL ALL
DEL MO1
DEL MO2
SAVE 01
SAVE
MEMORY
DEL MXX
OFF
PROG, SERV
RADIO, TXT
PROG, TYPE
RDS
MEMORY
XXX, XX
SAVE
GROUP A
GROUP B
GROUP A+B
OFF
TITLE
ARTIST
OPCIÓN 2 OPCIÓN 3 ... OPCIÓN 1 OPCIÓN X
OPTION 2 OPTION 3 ... OPTION XOPTION 1 OPTION 2 OPTION 3 ... OPTION XOPTION 1
OPÇÃO 2 OPÇÃO 3 ... OPÇÃO 1 OPÇÃO X
allows you to exit the menu.
-
Select the desired frequency
Seleccione la frecuencia deseada
Sélectionnez la fréquence souhaitée
Selecione a frequência desejada
MOVE
MANUAL MEMO
MOVE CHANNEL
1
2
3
4
1
2
Select memory location
Seleccione la posición de memoria
Sélectionnez la position de mémoire
Selecione a posição de memória
M01 XX,X
T0 M02
+
MEMORY
+
OK
+
OK
+
OK
Choose the channel you want to move
Elija el canal que desea mover
Choisissez le canal que vous souhaitez bouger
Escolha o canal que deseja mover
+
OK
Select the target memory location
Seleccione la posición de memoria destino
Sélectionnez la position de mémoire finale
Selecione a posição de memória de destino
3
4
OK
+
OK
+
OK
BALANCE
MIC
EQ
ECHO
VOL, SET
VOL, MAX
EXIT
VOL, INIT
A/B GR,
XXXXXXX XXXXXXX XXXXXXX
FOLDER
RANDOM
REPEAT
ID3 TAG
ALBUM
FILE
EXIT
AUTO MEM
SCAN
MOVE
DELETE
PAIRING
PAIR
BLUETOOTH
DEL ALL
DEL MO1
DEL MO2
SAVE 01
SAVE
MEMORY
DEL MXX
OFF
PROG, SERV
RADIO, TXT
PROG, TYPE
RDS
MEMORY
XXX, XX
SAVE
GROUP A
GROUP B
GROUP A+B
OFF
TITLE
ARTIST
OPCIÓN 2 OPCIÓN 3 ... OPCIÓN 1 OPCIÓN X
OPTION 2 OPTION 3 ... OPTION XOPTION 1 OPTION 2 OPTION 3 ... OPTION XOPTION 1
OPÇÃO 2 OPÇÃO 3 ... OPÇÃO 1 OPÇÃO X
: allows you to limit the maximum volume.
-
Select the desired frequency
Seleccione la frecuencia deseada
Sélectionnez la fréquence souhaitée
Selecione a frequência desejada
MOVE
MANUAL MEMO
MOVE CHANNEL
1
2
3
4
1
2
Select memory location
Seleccione la posición de memoria
Sélectionnez la position de mémoire
Selecione a posição de memória
M01 XX,X
T0 M02
+
MEMORY
+
OK
+
OK
+
OK
Choose the channel you want to move
Elija el canal que desea mover
Choisissez le canal que vous souhaitez bouger
Escolha o canal que deseja mover
+
OK
Select the target memory location
Seleccione la posición de memoria destino
Sélectionnez la position de mémoire finale
Selecione a posição de memória de destino
3
4
OK
+
OK
+
OK
BALANCE
MIC
EQ
ECHO
VOL, SET
VOL, MAX
EXIT
VOL, INIT
A/B GR,
XXXXXXX XXXXXXX XXXXXXX
FOLDER
RANDOM
REPEAT
ID3 TAG
ALBUM
FILE
EXIT
AUTO MEM
SCAN
MOVE
DELETE
PAIRING
PAIR
BLUETOOTH
DEL ALL
DEL MO1
DEL MO2
SAVE 01
SAVE
MEMORY
DEL MXX
OFF
PROG, SERV
RADIO, TXT
PROG, TYPE
RDS
MEMORY
XXX, XX
SAVE
GROUP A
GROUP B
GROUP A+B
OFF
TITLE
ARTIST
OPCIÓN 2 OPCIÓN 3 ... OPCIÓN 1 OPCIÓN X
OPTION 2 OPTION 3 ... OPTION XOPTION 1 OPTION 2 OPTION 3 ... OPTION XOPTION 1
OPÇÃO 2 OPÇÃO 3 ... OPÇÃO 1 OPÇÃO X
: allows you to set the maximum volume that the amplifier will have when it is turned
on. For example, if the value is 30, turning off the amplifier will cause the volume to be greater than 30,
turning on the amplifier will turn on the amplifier with volume 30; if turning off the amplifier the volume is
less than 30, for example 25, turning on the amplifier will maintain the previous volume of 25.
-
Select the desired frequency
Seleccione la frecuencia deseada
Sélectionnez la fréquence souhaitée
Selecione a frequência desejada
MOVE
MANUAL MEMO
MOVE CHANNEL
1
2
3
4
1
2
Select memory location
Seleccione la posición de memoria
Sélectionnez la position de mémoire
Selecione a posição de memória
M01 XX,X
T0 M02
+
MEMORY
+
OK
+
OK
+
OK
Choose the channel you want to move
Elija el canal que desea mover
Choisissez le canal que vous souhaitez bouger
Escolha o canal que deseja mover
+
OK
Select the target memory location
Seleccione la posición de memoria destino
Sélectionnez la position de mémoire finale
Selecione a posição de memória de destino
3
4
OK
+
OK
+
OK
BALANCE
MIC
EQ
ECHO
VOL, SET
VOL, MAX
EXIT
VOL, INIT
A/B GR,
XXXXXXX XXXXXXX XXXXXXX
FOLDER
RANDOM
REPEAT
ID3 TAG
ALBUM
FILE
EXIT
AUTO MEM
SCAN
MOVE
DELETE
PAIRING
PAIR
BLUETOOTH
DEL ALL
DEL MO1
DEL MO2
SAVE 01
SAVE
MEMORY
DEL MXX
OFF
PROG, SERV
RADIO, TXT
PROG, TYPE
RDS
MEMORY
XXX, XX
SAVE
GROUP A
GROUP B
GROUP A+B
OFF
TITLE
ARTIST
OPCIÓN 2 OPCIÓN 3 ... OPCIÓN 1 OPCIÓN X
OPTION 2 OPTION 3 ... OPTION XOPTION 1 OPTION 2 OPTION 3 ... OPTION XOPTION 1
OPÇÃO 2 OPÇÃO 3 ... OPÇÃO 1 OPÇÃO X
: allows you to select the group (zone) or groups of the speaker output through which
to play the audio. The options are:
Select the desired frequency
Seleccione la frecuencia deseada
Sélectionnez la fréquence souhaitée
Selecione a frequência desejada
MOVE
MANUAL MEMO
MOVE CHANNEL
1
2
3
4
1
2
Select memory location
Seleccione la posición de memoria
Sélectionnez la position de mémoire
Selecione a posição de memória
M01 XX,X
T0 M02
+
MEMORY
+
OK
+
OK
+
OK
Choose the channel you want to move
Elija el canal que desea mover
Choisissez le canal que vous souhaitez bouger
Escolha o canal que deseja mover
+
OK
Select the target memory location
Seleccione la posición de memoria destino
Sélectionnez la position de mémoire finale
Selecione a posição de memória de destino
3
4
OK
+
OK
+
OK
BALANCE
MIC
EQ
ECHO
VOL, SET
VOL, MAX
EXIT
VOL, INIT
A/B GR,
XXXXXXX XXXXXXX XXXXXXX
FOLDER
RANDOM
REPEAT
ID3 TAG
ALBUM
FILE
EXIT
AUTO MEM
SCAN
MOVE
DELETE
PAIRING
PAIR
BLUETOOTH
DEL ALL
DEL MO1
DEL MO2
SAVE 01
SAVE
MEMORY
DEL MXX
OFF
PROG, SERV
RADIO, TXT
PROG, TYPE
RDS
MEMORY
XXX, XX
SAVE
GROUP A
GROUP B
GROUP A+B
OFF
TITLE
ARTIST
OPCIÓN 2 OPCIÓN 3 ... OPCIÓN 1 OPCIÓN X
OPTION 2 OPTION 3 ... OPTION XOPTION 1 OPTION 2 OPTION 3 ... OPTION XOPTION 1
OPÇÃO 2 OPÇÃO 3 ... OPÇÃO 1 OPÇÃO X
Group A only,
Select the desired frequency
Seleccione la frecuencia deseada
Sélectionnez la fréquence souhaitée
Selecione a frequência desejada
MOVE
MANUAL MEMO
MOVE CHANNEL
1
2
3
4
1
2
Select memory location
Seleccione la posición de memoria
Sélectionnez la position de mémoire
Selecione a posição de memória
M01 XX,X
T0 M02
+
MEMORY
+
OK
+
OK
+
OK
Choose the channel you want to move
Elija el canal que desea mover
Choisissez le canal que vous souhaitez bouger
Escolha o canal que deseja mover
+
OK
Select the target memory location
Seleccione la posición de memoria destino
Sélectionnez la position de mémoire finale
Selecione a posição de memória de destino
3
4
OK
+
OK
+
OK
BALANCE
MIC
EQ
ECHO
VOL, SET
VOL, MAX
EXIT
VOL, INIT
A/B GR,
XXXXXXX XXXXXXX XXXXXXX
FOLDER
RANDOM
REPEAT
ID3 TAG
ALBUM
FILE
EXIT
AUTO MEM
SCAN
MOVE
DELETE
PAIRING
PAIR
BLUETOOTH
DEL ALL
DEL MO1
DEL MO2
SAVE 01
SAVE
MEMORY
DEL MXX
OFF
PROG, SERV
RADIO, TXT
PROG, TYPE
RDS
MEMORY
XXX, XX
SAVE
GROUP A
GROUP B
GROUP A+B
OFF
TITLE
ARTIST
OPCIÓN 2 OPCIÓN 3 ... OPCIÓN 1 OPCIÓN X
OPTION 2 OPTION 3 ... OPTION XOPTION 1 OPTION 2 OPTION 3 ... OPTION XOPTION 1
OPÇÃO 2 OPÇÃO 3 ... OPÇÃO 1 OPÇÃO X
Group B only, or
Select the desired frequency
Seleccione la frecuencia deseada
Sélectionnez la fréquence souhaitée
Selecione a frequência desejada
MOVE
MANUAL MEMO
MOVE CHANNEL
1
2
3
4
1
2
Select memory location
Seleccione la posición de memoria
Sélectionnez la position de mémoire
Selecione a posição de memória
M01 XX,X
T0 M02
+
MEMORY
+
OK
+
OK
+
OK
Choose the channel you want to move
Elija el canal que desea mover
Choisissez le canal que vous souhaitez bouger
Escolha o canal que deseja mover
+
OK
Select the target memory location
Seleccione la posición de memoria destino
Sélectionnez la position de mémoire finale
Selecione a posição de memória de destino
3
4
OK
+
OK
+
OK
BALANCE
MIC
EQ
ECHO
VOL, SET
VOL, MAX
EXIT
VOL, INIT
A/B GR,
XXXXXXX XXXXXXX XXXXXXX
FOLDER
RANDOM
REPEAT
ID3 TAG
ALBUM
FILE
EXIT
AUTO MEM
SCAN
MOVE
DELETE
PAIRING
PAIR
BLUETOOTH
DEL ALL
DEL MO1
DEL MO2
SAVE 01
SAVE
MEMORY
DEL MXX
OFF
PROG, SERV
RADIO, TXT
PROG, TYPE
RDS
MEMORY
XXX, XX
SAVE
GROUP A
GROUP B
GROUP A+B
OFF
TITLE
ARTIST
OPCIÓN 2 OPCIÓN 3 ... OPCIÓN 1 OPCIÓN X
OPTION 2 OPTION 3 ... OPTION XOPTION 1 OPTION 2 OPTION 3 ... OPTION XOPTION 1
OPÇÃO 2 OPÇÃO 3 ... OPÇÃO 1 OPÇÃO X
both groups.

Other manuals for FONESTAR AS-170PLUS

Related product manuals