EasyManua.ls Logo

Ford 2016 F-150 - Page 233

Ford 2016 F-150
505 pages
Print Icon
To Next Page IconTo Next Page
To Next Page IconTo Next Page
To Previous Page IconTo Previous Page
To Previous Page IconTo Previous Page
Loading...
E165517
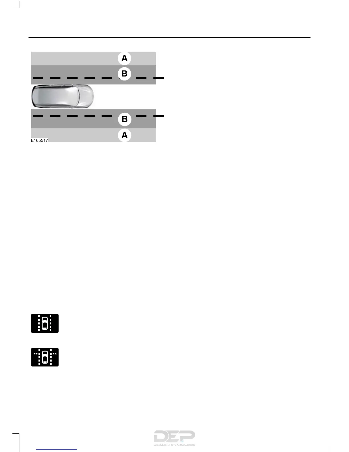
AlertA
AidB
Alert + Aid Provides an assistance
steering torque input toward the lane
center. If your vehicle continues drifting out
of the lane, the system provides a steering
wheel vibration.
Note: The alert and aid diagrams illustrate
general zone coverage. They do not provide
exact zone parameters.
Intensity: This setting affects the intensity
of the steering wheel vibration used for the
alert and alert + aid modes. This setting
does not affect the aid mode.
Low
Medium
High
System Display
E144813
When you switch on the system,
an overhead graphic of a vehicle
with lane markings will display
in the information display.
E173234
If you select aid mode when you
switch on the system, arrows will
be displayed with lane markings.
When you switch off the system, the lane
marking graphics will not display.
Note: The overhead vehicle graphic may
still be displayed if adaptive cruise control
is enabled.
While the system is on, the color of the
lane markings will change to indicate the
system status.
Gray: Indicates that the system is
temporarily unable to provide a warning
or intervention on the indicated side(s).
This may be because:
Your vehicle is under the activation
speed.
Your turn indicator is active.
Your vehicle is in a dynamic maneuver.
The road has no or poor lane markings
in the camera field-of-view.
The camera is obscured or unable to
detect the lane markings due to
environmental conditions (significant
sun angles, shadows, snow, heavy rain,
fog), traffic conditions (following a
large vehicle that is blocking or
shadowing the lane), or vehicle
conditions (poor headlamp
illumination).
See Troubleshooting for additional
information.
Green: Indicates that the system is
available or ready to provide a warning or
intervention, on the indicated side(s).
Yellow: Indicates that the system is
providing or has just provided a lane
keeping aid intervention.
Red: Indicates that the system is providing
or has just provided a lane keeping alert
warning.
You can temporarily disable the system at
any time by doing the following
Quick braking.
Fast acceleration.
Using your direction indicator.
Evasive steering maneuver.
230
F-150 (TFC) Canada/United States of America, enUSA, Edition date: 08/2015, First Printing
Driving Aids

Table of Contents

Other manuals for Ford 2016 F-150

Related product manuals