EasyManua.ls Logo

Forney 52755 - Assembly Instructions; Attach Foot; Attach Handle Assembly; Attach Handle

Forney 52755
40 pages
Print Icon
To Next Page IconTo Next Page
To Next Page IconTo Next Page
To Previous Page IconTo Previous Page
To Previous Page IconTo Previous Page
Loading...
5
WWW.FORNEYIND.COM
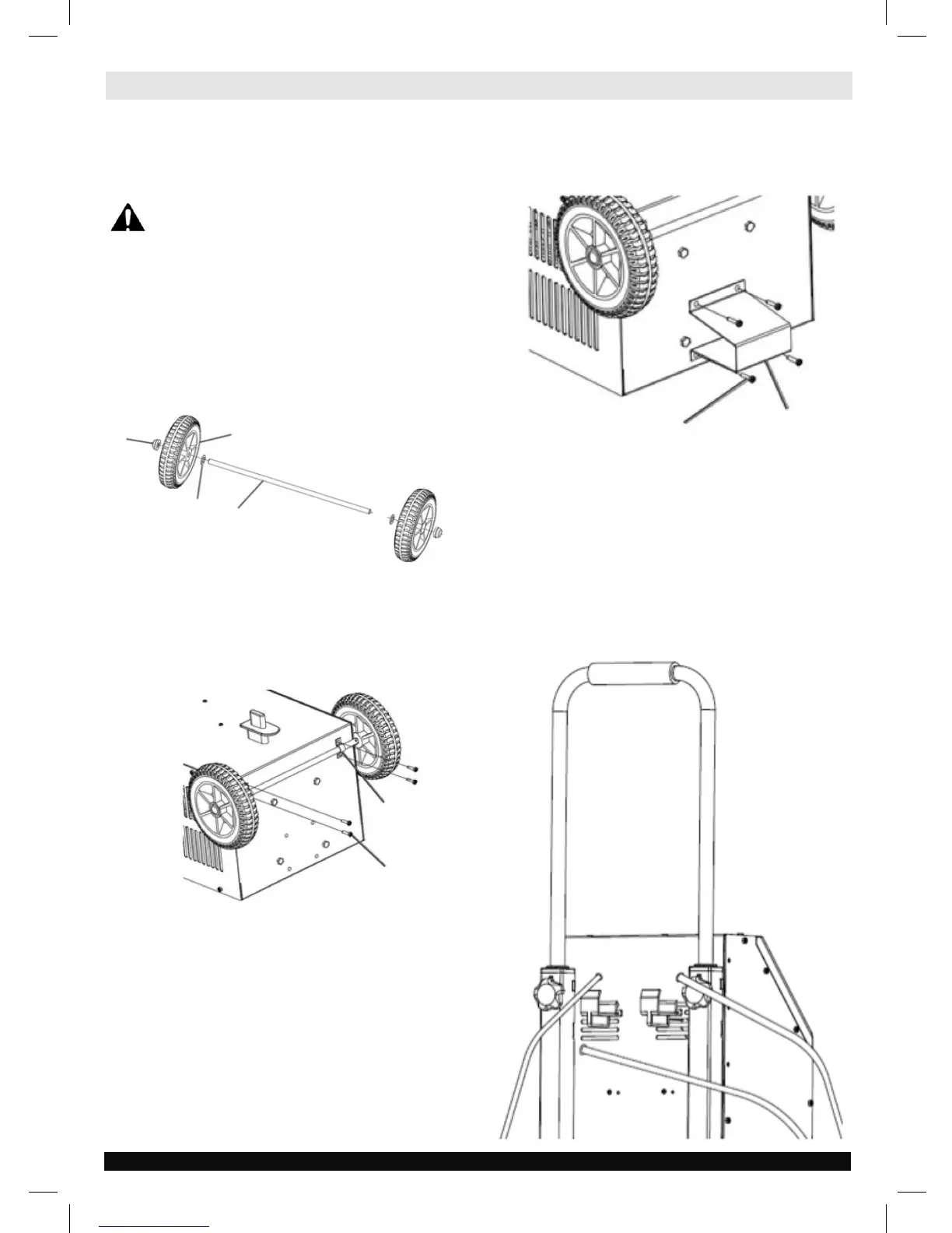
ASSEMBLY INSTRUCTIONS
Read the ENTIRE IMPORTANT SAFETY INFORMATION
section at the beginning of this manual; including all
text under subheadings therein, before set up or use of
this product.
TO PREVENT SERIOUS INJURY: Unplug the
charger, disconnect any battery, and allow
charger to cool completely before assembling
or making any adjustments to the charger.
1. Slide Wheel Bearing (if supplied) onto Axle.
2. Slide Wheel onto Axle.
3. Attach Hubcap to Axle by tapping gently with rubber
mallet (not included).
4. Repeat on other side
Attach Wheel Assembly
1. Lay Charger down.
2. Attach Wheel Assembly with two Brackets and four
tapping Screws.
Attach Foot
1. Attach Foot with four Tapping Screws.
Attach Handle
1. Insert handle into handle supports on back of
charger.
2. Locate holes in handle and insert threaded bolt and
tighten.
There are holes on the upper part of the handle for
storage and carrying purposes.
Hubcap
Wheel
Wheel Bearing
Axle
Bracket
Tapping Screw
Tapping Screw
Foot

Related product manuals