EasyManua.ls Logo

FRIDEN STW - Page 102

Default Icon
161 pages
Print Icon
To Next Page IconTo Next Page
To Next Page IconTo Next Page
To Previous Page IconTo Previous Page
To Previous Page IconTo Previous Page
Loading...
6-15-50
INC.
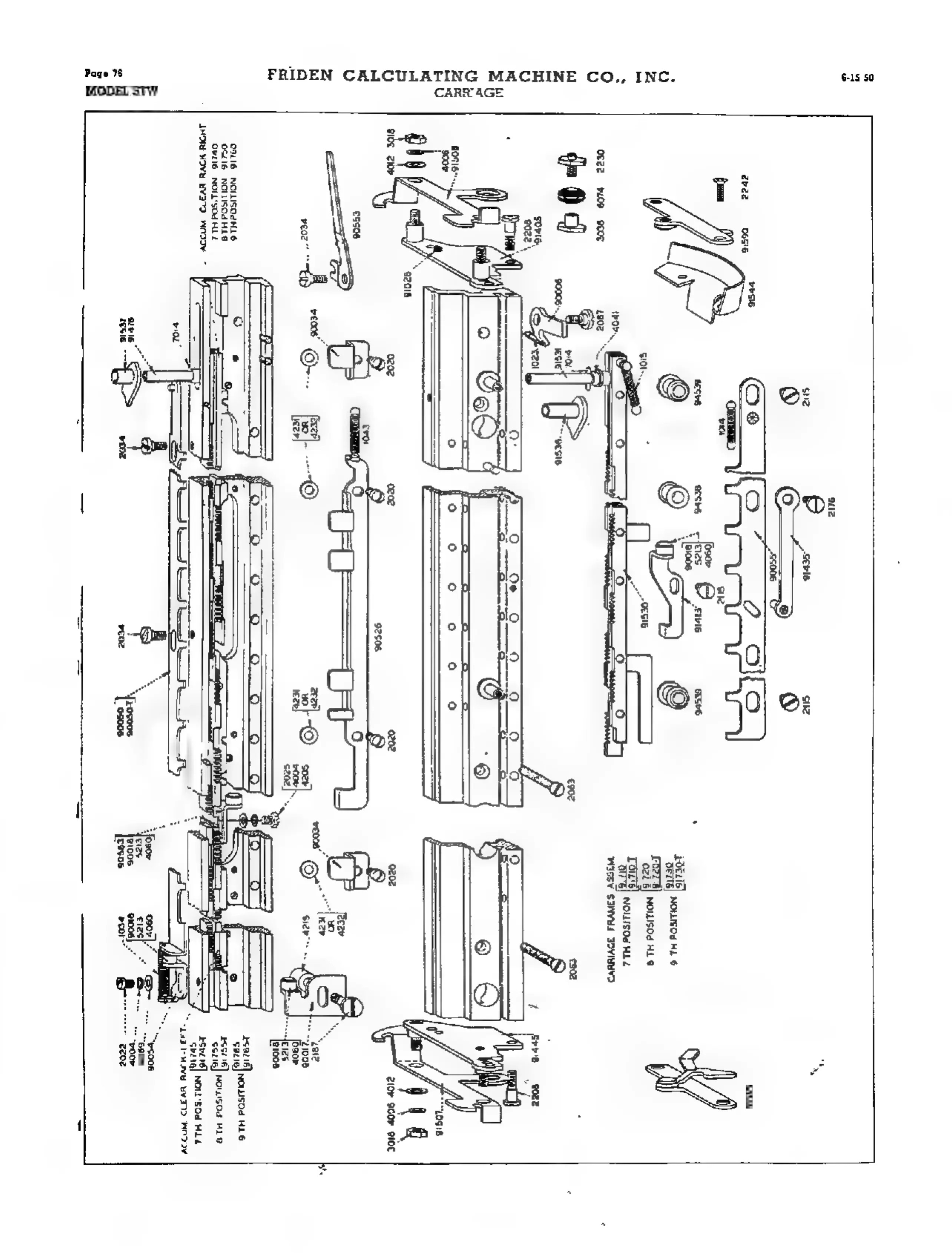
CARRIAGE
FRIDEN
CALCULATING
MACHINE
CO.,,
1]
aMor-wove
weaT9
Wago¥
7
MODEL
STW
Page
78
$6618
OEE)
yoursou
Ha
¢
Freer
TET
wouisod
H18
roi
BIg]
NOMISOd
HLL
Wiss’
SaNYUs
JDvIYD
Uy
\t
="
210"
9COw
910C
)
09116
NOILISOAHLS
06216
NOI
TISOd
HLO
OWEI6
NOILISOd
HLE
Pots
44]
wong
HL
Seiya
PY
008
10%