EasyManua.ls Logo

FRIDEN STW - Page 75

Default Icon
161 pages
Print Icon
To Next Page IconTo Next Page
To Next Page IconTo Next Page
To Previous Page IconTo Previous Page
To Previous Page IconTo Previous Page
Loading...
Page
684,
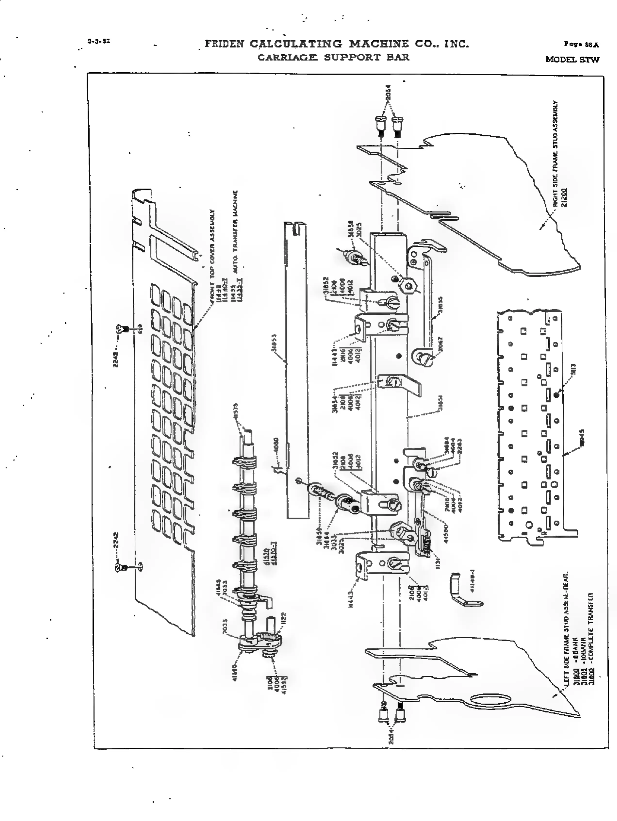
MODEL
STW
_
FRIDEN
CALCULATING
MACHINE
CO., INC.
263-82
CARRIAGE
SUPPORT
BAR
UMISNYHL
2LTaNOI-
TOUTE
wHyGol>
TOUIE
GIGI
CI
OI
GIGI GIGI
GI
GI
CP CI
CI CI
OI
CI GI
IE
CIO
CD)
CP
GI)
GP
GI
I
CI
GS
eee