EasyManua.ls Logo

Frigidaire FFU11FK0DW - Page 2

Frigidaire FFU11FK0DW
7 pages
Print Icon
To Next Page IconTo Next Page
To Next Page IconTo Next Page
To Previous Page IconTo Previous Page
To Previous Page IconTo Previous Page
Loading...
Publication No: 5995409728 FFU11FK0DW0
05/04 2
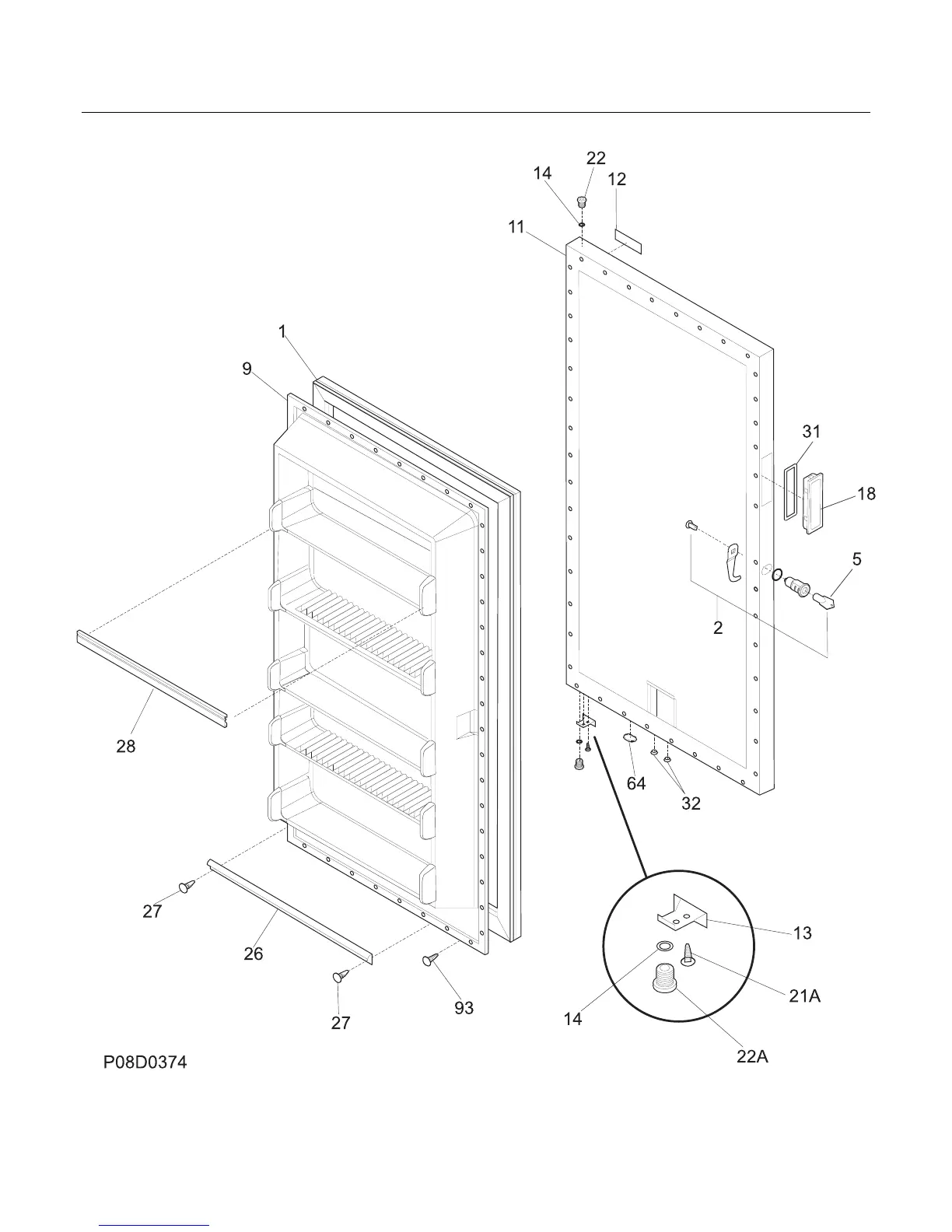
DOOR

Related product manuals