EasyManua.ls Logo

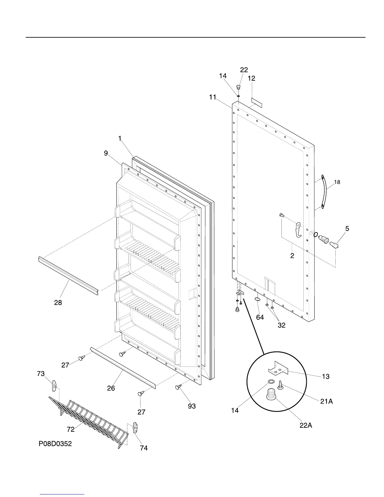
Frigidaire FFU17FC5CW0 - Freezer Door Assembly

Frigidaire FFU17FC5CW0
7 pages
Print Icon
To Next Page IconTo Next Page
To Next Page IconTo Next Page
To Previous Page IconTo Previous Page
To Previous Page IconTo Previous Page
Loading...
04/03 2
Publication No FFU17FC5CW0
5995389433
DOOR

Related product manuals