EasyManua.ls Logo

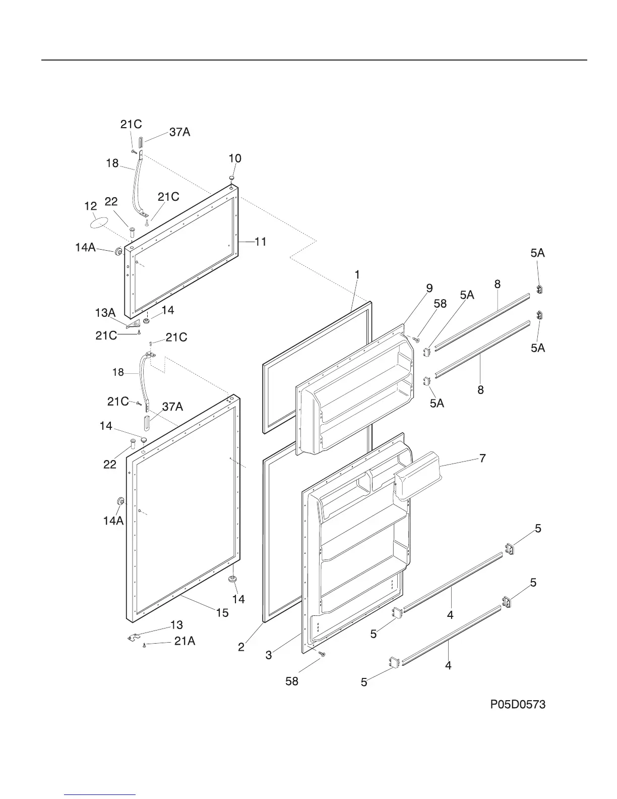
Frigidaire FRT18TRC - Door Assembly Components; Door Exploded View Diagram

Frigidaire FRT18TRC
11 pages
Print Icon
To Next Page IconTo Next Page
To Next Page IconTo Next Page
To Previous Page IconTo Previous Page
To Previous Page IconTo Previous Page
Loading...
02/99 2
Publication No. FRT18TRC
5995317921
DOOR

Related product manuals