EasyManua.ls Logo

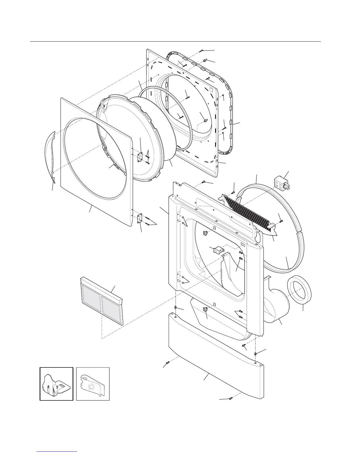
Frigidaire GLEQ2152E - Front Panel and Lint Filter Components; Front Panel and Lint Filter Diagram

Frigidaire GLEQ2152E
10 pages
Print Icon
To Next Page IconTo Next Page
To Next Page IconTo Next Page
To Previous Page IconTo Previous Page
To Previous Page IconTo Previous Page
Loading...
Publication No: 5995431375 GLEQ2152ES0
03/05 4
FRONT PANEL/LINT FILTER
27
39
58
50
50
8
20
21
9
9
42
26
42
25
22
6
1
17
17
18
28
P16D0033
2
2
2
16
46
48
42
41
41
42
53
54
55
47
44
49
49
23
23
52
52
52
52
24
24

Related product manuals