EasyManua.ls Logo

Fuji Xerox ApeosPort-V C2276 - Page 70

Fuji Xerox ApeosPort-V C2276
783 pages
Print Icon
To Next Page IconTo Next Page
To Next Page IconTo Next Page
To Previous Page IconTo Previous Page
To Previous Page IconTo Previous Page
Loading...
2 Paper and Other Media
70
Paper and Other Media
2
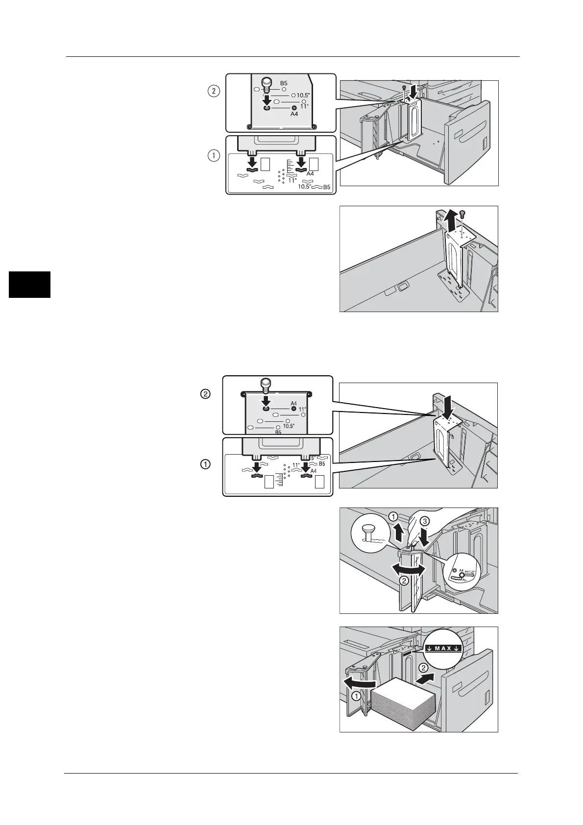
5 Unscrew the screw of the front guide and
remove the guide from the tray.
6 Insert the small protrusions at the bottom of the guide into the holes corresponding to the
paper size (1). Insert the protrusion on the tray into a hole corresponding to the paper size
on the top of the guide, and tighten up the screw (2).
7 Pull up the lever of the end guide (1). Move the
lever along the slot, and set it at the position
corresponding to the paper size (2). And then
press the lever down (3).
Important Adjust the end guide correctly to the size of
the paper. If the end guide is not adjusted
correctly, the machine cannot feed the paper
properly, resulting in paper jams.
Note The slot to the left of 8.5" is not used.
8 Open the end guide (1), and load and align the
edge of the paper against the right edge of the
tray with the side to be copied or printed on
facing down (2).
Important Do not load paper above the maximum fill
line ("MAX" in the right figure). It may cause
paper jams or machine malfunction.

Table of Contents

Other manuals for Fuji Xerox ApeosPort-V C2276

Related product manuals