EasyManua.ls Logo

Future light SC-780 - Page 40

Future light SC-780
41 pages
Print Icon
To Next Page IconTo Next Page
To Next Page IconTo Next Page
To Previous Page IconTo Previous Page
To Previous Page IconTo Previous Page
Loading...
40
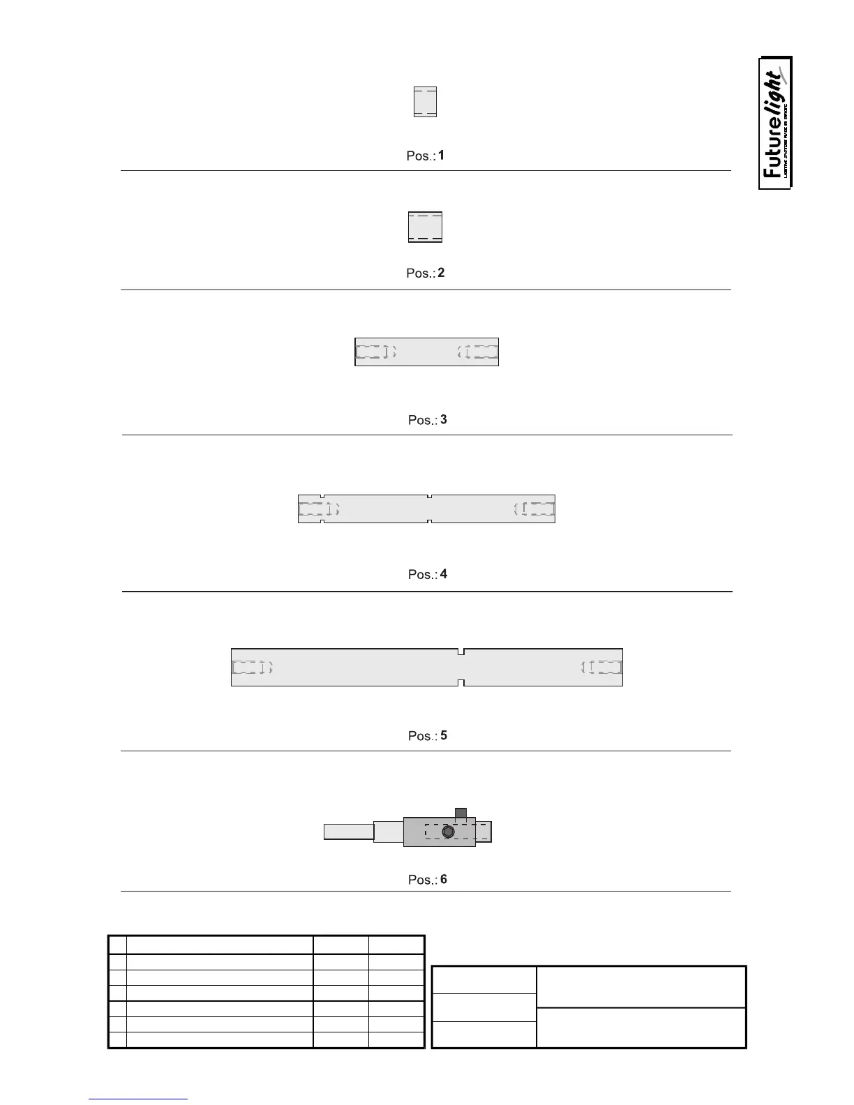
SC - 780
Unit holding rods and spacers
29.3.1998
27.0/98
Spacer 1 ø=8, L=6
Spacer 2 ø=8, L=9
Unit holding rod ø=7,5 L=38,5
Unit holding rod ø=7,5 L=69
Unit holding rod ø=10, L=105
Shaft spacer L=48
1
2
3
4
5
6
Spare parts:
Description
Stock No.: Order No:
Date:
Doc. No.:
Sheet:
Product:
Document:
120310560
120310652
120310652
120310650
120310700
120310120

Related product manuals