EasyManua.ls Logo

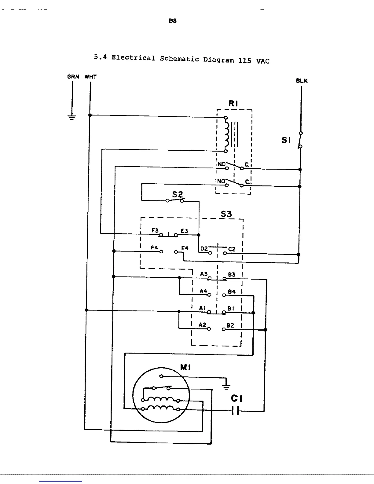
GBC Shredmaster 1236S - 5.4 Electrical Schematic Diagram

GBC Shredmaster 1236S
9 pages
Print Icon
To Next Page IconTo Next Page
To Next Page IconTo Next Page
To Previous Page IconTo Previous Page
To Previous Page IconTo Previous Page
Loading...

Related product manuals