EasyManua.ls Logo

GE Current Evolve GEH-6033 - Page 6

GE Current Evolve GEH-6033
12 pages
Print Icon
To Next Page IconTo Next Page
To Next Page IconTo Next Page
To Previous Page IconTo Previous Page
To Previous Page IconTo Previous Page
Loading...
MONTAGE
3
Risque de blessures ou de dommages. L’appareil tombera
s’il n’est pas correctement installé.
MANUTENTION
2
Ce luminaire a été soigneusement emballé an qu’aucune
pièce ne soit endommagée pendant le transport.
Inspecter les pièces pour conrmer leur bon état.
Si le luminaire est manipulé inadéquatement en
dehors de son emballage, il pourrait subir des dommages.
Ne pas donner de coup ou empiler le luminaire une
fois sorti de son emballage.
Ouvrir le couvercle du compartiment électrique situé
sur le support de montage. Effectuer les branchements
électriques et fermer le couvercle du compartiment.
Remarque : Effectuer tous les branchements
conformément
au Code national de l’électricité et aux
exigences du code local applicables.
DÉBALLAGE
1
Ouvrir le couvercle du compartiment électrique
situé sur le support de montage. Effectuer les
branchements électriques et fermer le couvercle du
comp
artiment. Étanchéiser la bride de montage mural
à la surface de montage avec de la silicone ou un
matériau de calfeutrage similaire.
3.
Montage sur tourillon : Monter directement sur
une surface plate. Le support du tourillon a un trou de
dégagement adapté à un boulon de 3/4 po. (19mm) pour
la xation. Serrer les boulons de tourillon latéraux à un
couple de 15 à 20 pied-livres (20-27 Nm).
Brancher les ls d’alimentation du luminaire dans le
boîtier de jonction fourni par l’utilisateur.
Remarque : Effectuer tous les branchements
conformément au Code national de l’électricité et aux
exigences du code local applicables.
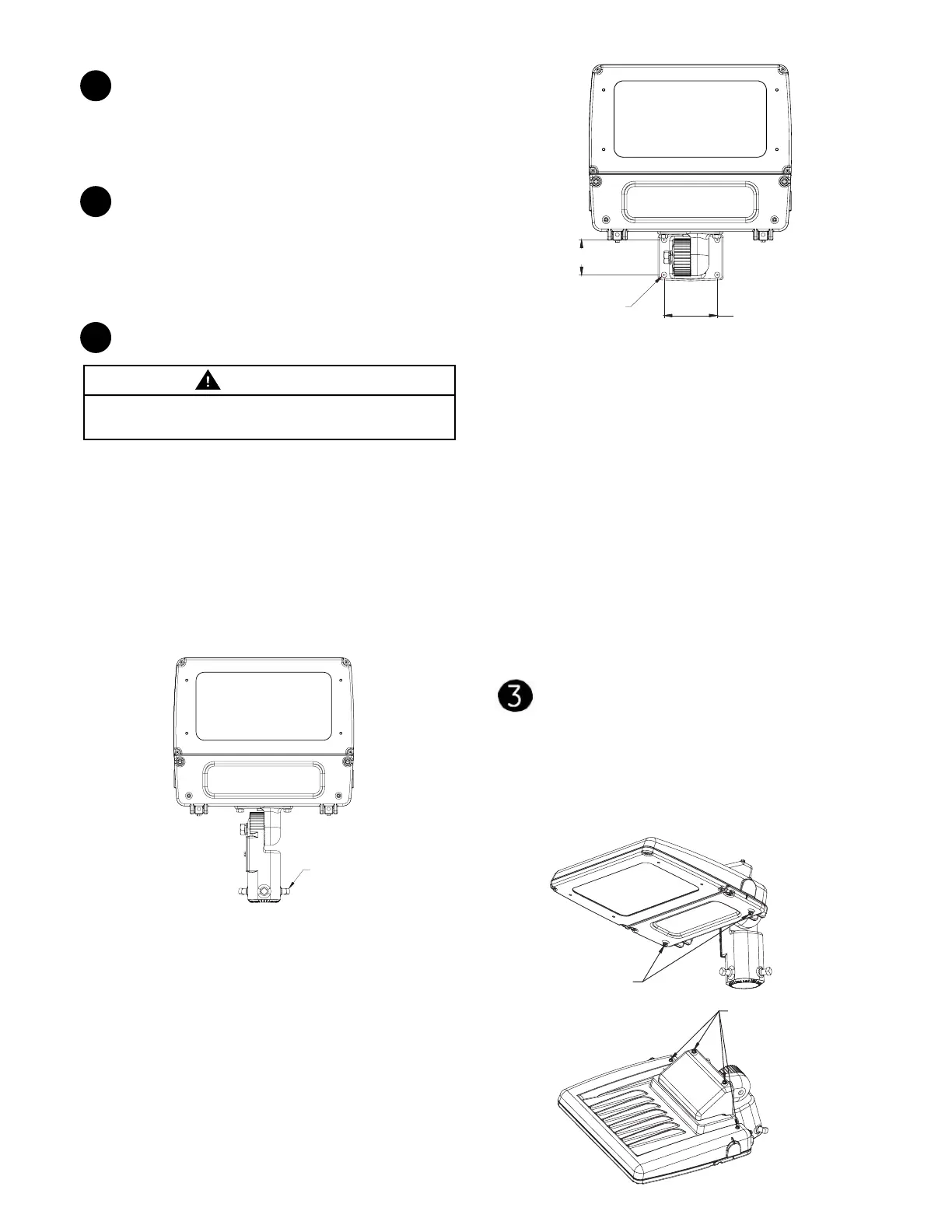
SCHÉMA 1
Vis de calage
Suivre les instructions d’installation
1.
App
areil monté sur tuyau : Le joint coulissant
peut se monter sur un tuyau de diamètre extérieur de
1-7/8-po. (25,5mm) à 2-3/8-po. (51mm) ou 2-7/8 po.
(51mm) à 3 po. (7
6mm). Les vis de calage servent à xer
solidement le projecteur au tuyau. Serrer les vis de calage
à un couple de 15 pied-livres (20,3 N•m). Le joint
coulissant a été conçu pour se monter sur un tuyau
vertical orienté vers le haut de manière à ce que la gravité
maintienne le projecteur en place pendant le serrage des
vis de calage.
2.
Mo
ntage mural : La plaque de montage mural est
fournie avec quatre trous de dégagement de 0,438 po.
(11,10mm) espacés de 4,375(H) et 2,875(V) po. (111,10mm
(H) et 71,75mm(V)) pour le montage. Ne pas installer
l’appareil de manière à ce que le côté charnière du
portillon soit plus haut que le côté loquet.
SCHÉMA 2
2,875 po. (73mm)
4 trous
4,387 po. (111,5mm)
4,375 po. (111,1mm)
3
ORIENTATION
1.
Orientation vers le bas: Lorsque le verre est
orienté vers le bas, retirer les deux vis d’évacuation
du portillon automatique.
IMPORTANT : s’assurer que les quatre orifices
d’évacuation arrière sont en place pour l’orientation
vers le bas.
SCHÉMA 3
Retirer les vis
d’évacuation pour la
position vers le bas
Laisser les vis d’évacuation
pour la position vers le bas
AVERTISSEMENT

Related product manuals