EasyManua.ls Logo

GE GFSS2HCYSS - Page 19

GE GFSS2HCYSS
128 pages
Print Icon
To Next Page IconTo Next Page
To Next Page IconTo Next Page
To Previous Page IconTo Previous Page
To Previous Page IconTo Previous Page
Loading...
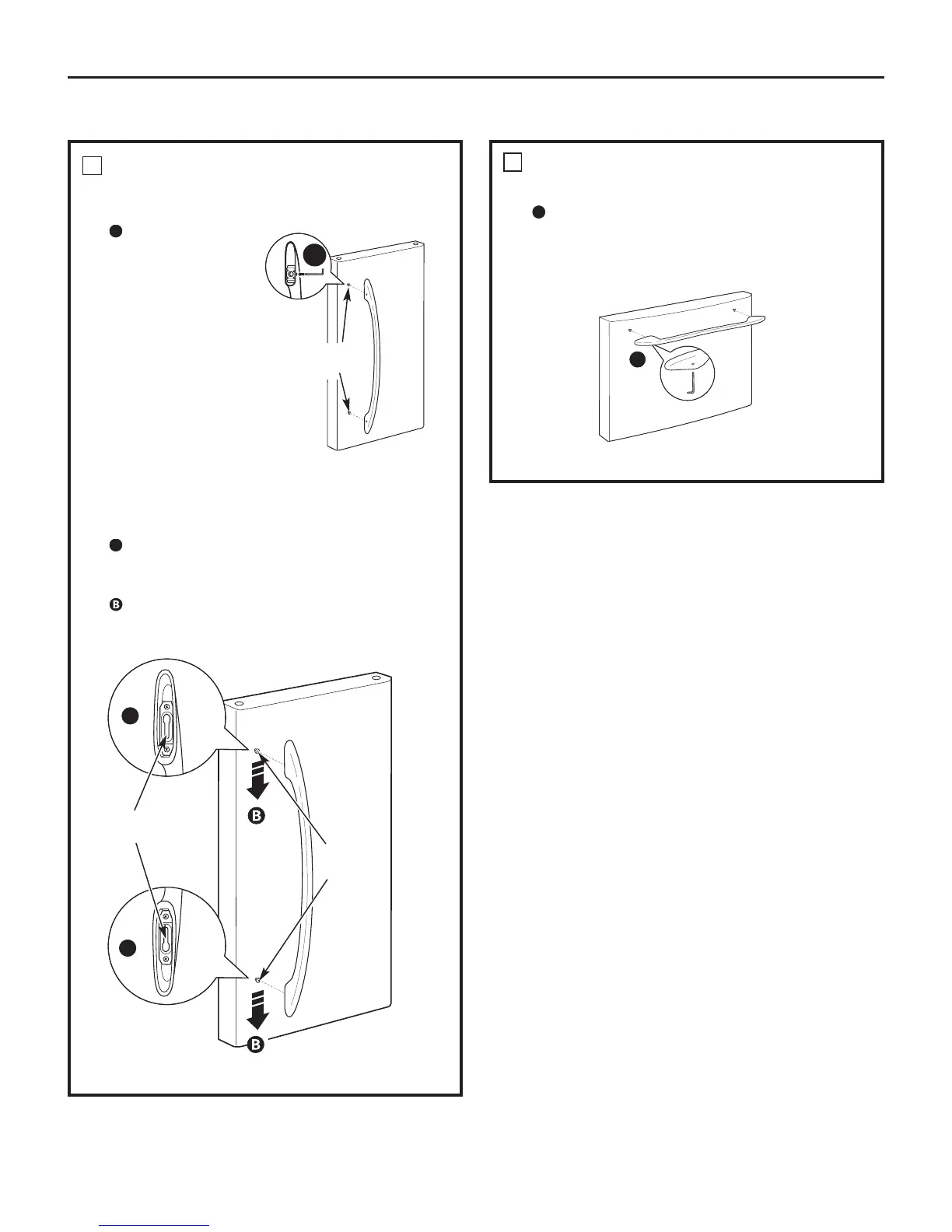
ATTACH THE FREEZER DOOR HANDLE
Stainless steel and plastic handles:
Attach the handle firmly to the mounting
fasteners and tighten the set screws on
the bottom of the handle with a 1/8” Allen
wrench.
A
Installation Instructions
19
ATTACH THE FRESH FOOD
DOOR HANDLE
Stainless steel handle:
Attach the
handle to the
handle mounting
fasteners and
tighten the set
screws with a
3/32” Allen
wrench.
NOTE: For
Double Door
models follow
the same
procedure on the
opposite door.
Plastic handle:
Attach the handle to the handle mounting
fasteners by aligning the slots with the
handle mounting fasteners.
Slide it down until it is firmly locked into
position.
A
A
8
A
Mounting
Fasteners
(appearance may vary)
(appearance may vary)
Mounting
fasteners
Slots on back of
handle
A
A
9
A
(appearance may vary)

Table of Contents

Other manuals for GE GFSS2HCYSS

Related product manuals