EasyManua.ls Logo

GE GLD4500V - Page 4

GE GLD4500V
32 pages
Print Icon
To Next Page IconTo Next Page
To Next Page IconTo Next Page
To Previous Page IconTo Previous Page
To Previous Page IconTo Previous Page
Loading...
)RUPRGHOVHTXLSSHGZLWKSRZHUFRUG'RQRWPRGLI\WKHSOXJ
SURYLGHGZLWKWKHDSSOLDQFHLILWZLOOQRWILWWKHRXWOHWKDYHD
SURSHURXWOHWLQVWDOOHGE\DTXDOLILHGWHFKQLFLDQ
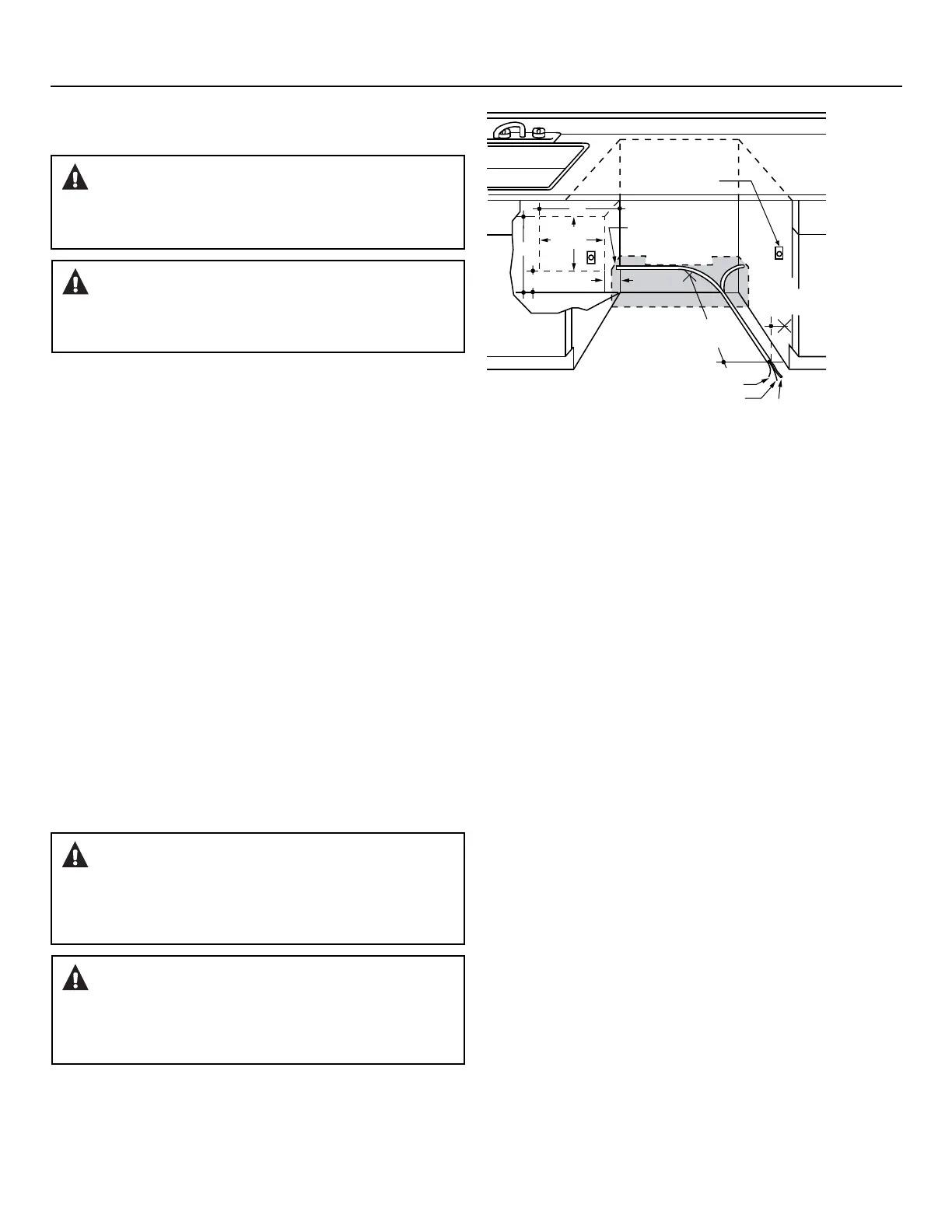
&DELQHW3UHSDUDWLRQ:LUH5RXWLQJ
7KHZLULQJPD\HQWHUWKHRSHQLQJIURPHLWKHUVLGHUHDURUWKH
IORRUZLWKLQWKHVKDGHGDUHDLOOXVWUDWHGDERYHLQ)LJXUH(DQG
GHILQHGLQ)LJXUH$
&XWDPD[LPXPGLDPHWHUKROHWRDGPLWWKHHOHFWULFDO
FDEOH3HUPDQHQWZLULQJFRQQHFWLRQVPD\SDVVWKURXJKWKH
VDPHKROHDVWKHGUDLQKRVHDQGKRWZDWHUOLQHLIFRQYHQLHQW
,IFDELQHWZDOOLVPHWDOWKHKROHHGJHPXVWEHFRYHUHGZLWKD
EXVKLQJ
127(3RZHUFRUGVZLWKSOXJPXVWSDVVWKURXJKDVHSDUDWH
KROH
(OHFWULFDO&RQQHFWLRQWR'LVKZDVKHU
(OHFWULFDOFRQQHFWLRQLVRQWKHULJKWIURQWRIGLVKZDVKHU
)RUSHUPDQHQWFRQQHFWLRQVWKHFDEOHPXVWEHURXWHGDV
VKRZQLQ)LJXUH(&DEOHPXVWH[WHQGDPLQLPXPRIIURP
WKHUHDUZDOO
)RUSRZHUFRUGFRQQHFWLRQVLQVWDOODSURQJJURXQGLQJ
W\SHUHFHSWDFOHLQWKHVLQNFDELQHWUHDUZDOOPLQRU
PD[LPXPIURPWKHRSHQLQJWRDERYHWKHIORRU
35(3$5((/(&75,&$/:,5,1*
(OHFWULFDO5HTXLUHPHQWV
7KLVDSSOLDQFHPXVWEHVXSSOLHGZLWK9+]DQG
FRQQHFWHGWRDQLQGLYLGXDOSURSHUO\JURXQGHGEUDQFKFLUFXLW
SURWHFWHGE\DRUDPSHUHFLUFXLWEUHDNHURUWLPHGHOD\
IXVH
:LULQJPXVWEHZLUHZLWKJURXQGDQGUDWHGIRU&)
,IWKHHOHFWULFDOVXSSO\GRHVQRWPHHWWKHDERYHUHTXLUHPHQWV
FDOODOLFHQVHGHOHFWULFLDQEHIRUHSURFHHGLQJ
*URXQGLQJ,QVWUXFWLRQV²3HUPDQHQW&RQQHFWLRQ
7KLVDSSOLDQFHPXVWEHFRQQHFWHGWRDJURXQGHGPHWDO
SHUPDQHQWZLULQJV\VWHPRUDQHTXLSPHQWJURXQGLQJ
FRQGXFWRUPXVWEHUXQZLWKWKHFLUFXLWFRQGXFWRUVDQGEH
FRQQHFWHGWRWKHHTXLSPHQWJURXQGLQJWHUPLQDORUOHDGRQ
WKHDSSOLDQFH
*URXQGLQJ,QVWUXFWLRQV²3RZHU&RUG0RGHOV
7KLVDSSOLDQFHPXVWEHJURXQGHG,QWKHHYHQWRIDPDOIXQFWLRQ
RUEUHDNGRZQJURXQGLQJZLOOUHGXFHWKHULVNRIHOHFWULFVKRFN
E\SURYLGLQJDSDWKRIOHDVWUHVLVWDQFHIRUHOHFWULFFXUUHQW
7KLVDSSOLDQFHLVHTXLSSHGZLWKDFRUGKDYLQJDQHTXLSPHQW
JURXQGLQJFRQGXFWRUDQGDJURXQGLQJSOXJ7KHSOXJPXVW
EHSOXJJHGLQWRDQDSSURSULDWHRXWOHWWKDWLVLQVWDOOHGDQG
JURXQGHGLQDFFRUGDQFHZLWKDOOORFDOFRGHVDQGRUGLQDQFHV
White
18"
6"
24"
from Wall
3"
from
Cabinet
Alternate
Receptacle
Location
Ground
Black
1-1/2" Dia. Hole (Max.)
18"
6"
Receptacle
Location
Area
)LJXUH(
,QVWDOODWLRQ3UHSDUDWLRQ
:$51,1*
)253(5621$/6$)(7<5HPRYHKRXVHIXVHRURSHQFLUFXLWEUHDNHU
EHIRUHEHJLQQLQJLQVWDOODWLRQ'RQRWXVHDQH[WHQVLRQFRUGRU
DGDSWHUSOXJZLWKWKLVDSSOLDQFH
$'9(57(1&,$
3$5$6(*85,'$'3(5621$/4XLWHHOIXVLEOHRDEUDHOLQWHUUXSWRU
GHFLUFXLWRVDQWHVGHFRPHQ]DUODLQVWDODFLyQ1RXWLOLFHXQFDEOH
GHH[WHQVLyQRXQHQFKXIHDGDSWDGRUFRQHVWHDUWHIDFWR
:$51,1*
7KHLPSURSHUFRQQHFWLRQRIWKHHTXLSPHQWJURXQGLQJFRQGXFWRU
FDQUHVXOWLQDULVNRIHOHFWULFVKRFN&KHFNZLWKDTXDOL¿HG
HOHFWULFLDQRUVHUYLFHUHSUHVHQWDWLYHLI\RXDUHLQGRXEWWKDW
WKHDSSOLDQFHLVSURSHUO\JURXQGHG
$'9(57(1&,$
/DFRQH[LyQLQDGHFXDGDGHOFRQGXFWRUGHFRQH[LyQDWLHUUDGHO
HTXLSDPLHQWRSXHGHSURYRFDUXQULHVJRGHGHVFDUJDHOpFWULFD
&RQVXOWHDXQHOHFWULFLVWDFDOL¿FDGRRUHSUHVHQWDQWHGHVHUYLFLR
WpFQLFRVLWLHQHGXGDVVREUHODFRUUHFWDFRQH[LyQDWLHUUDGHODSDUDWR

Related product manuals