EasyManua.ls Logo

GE TFK Series - Page 39

GE TFK Series
46 pages
Print Icon
To Next Page IconTo Next Page
To Next Page IconTo Next Page
To Previous Page IconTo Previous Page
To Previous Page IconTo Previous Page
Loading...
1997 REFRIGERATORS GLOBAL NEW GENERATION
SxS
© General Electric Company 1997 38
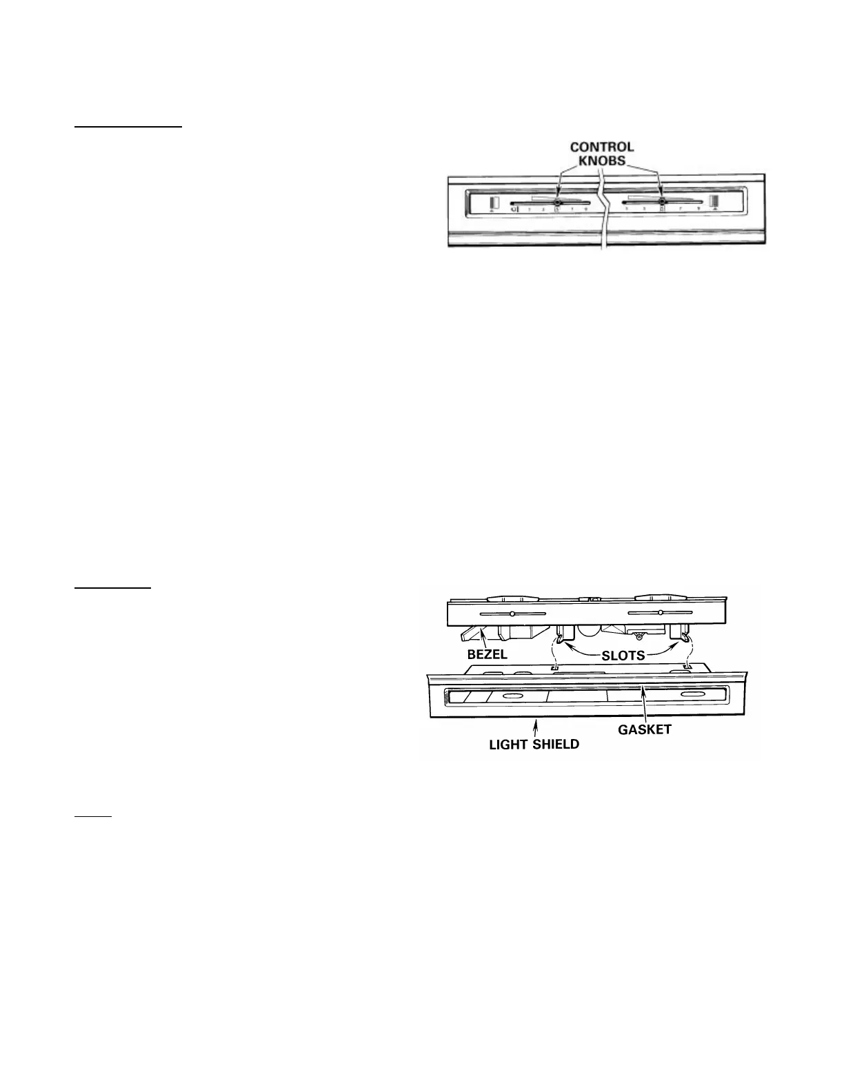
Control Console
The control console is located at the upper rear of
the fresh food compartment. Sliding knobs at the
front of the console permit the consumer to
regulate the temperature of both compartments.
The freezer control knob is located at the left and
the fresh food control knob is at the right. Settings
for both controls are numbered 1 through 9, and
both should initially be set to middle (#5) positions.
Freezer temperature is regulated by an electrical temperature control that senses air temperature inside
the freezer compartment to cycle the compressor off and on. The freezer control also has an “off”
setting.
Fresh food temperature is regulated by an automatic air damper control that provides better response to
ambient and usage conditions. The damper is opened and closed by a capillary and bellows assembly
that reacts to changes in air temperature within the fresh food compartment. Upon temperature rise,
the damper will gradually open. If the temperature continues to rise, the damper will continue to open
thus providing a supply of cold air upon demand. At the middle (#5) setting, the damper will close when
the temperature drops to -1ºC (30°F).
To test the operation of the air damper, position the fresh food temperature control to the warmest (#1)
setting and hold an ice cube in contact with the air damper capillary. The damper should slowly close in
response to the cold temperature of the ice cube. Then, remove the ice cube and grasp the capillary
with your hand. The damper should quickly open in response to the warm body temperature.
Light Shield
To dismount the light shield, pull it forward
along the top to disengage it from the bezel.
Then pull the bottom edge of the light shield
from the slots in the mounting supports.
To reinstall the light shield, first position the
gasket at the top so that the flap is toward the
front. Position the lower edge of the light shield
firmly into the slots in the mounting supports.
Lift the top edge of the light shield and engage it
over the top of the bezel.
Lamp
The lamp is a 40 watt clear appliance bulb that is commonly used for ceiling fan lights. The lamp can be
replaced without removing the light shield by reaching through the opening at the bottom.

Related product manuals