EasyManua.ls Logo

General AOG24ANAK - ASG24 ABAJ;AOG24 ANAK Refrigerant Flow Path; ASG24 RBAJ;AOG24 RNAKH Refrigerant Flow Path

General AOG24ANAK
41 pages
Print Icon
To Next Page IconTo Next Page
To Next Page IconTo Next Page
To Previous Page IconTo Previous Page
To Previous Page IconTo Previous Page
Loading...
2004.10.19
- 6 -
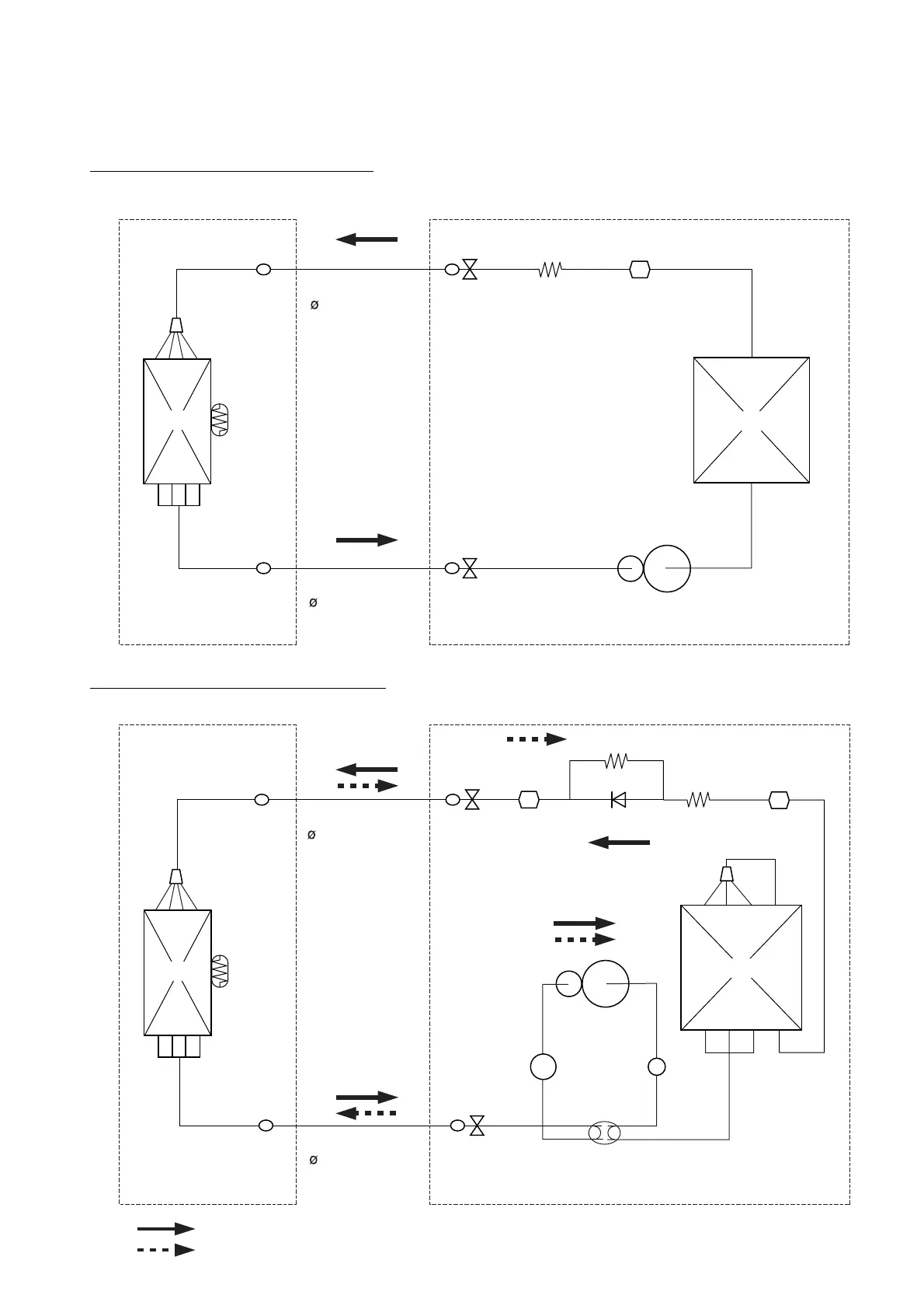
Models : ASG24RBAJ / AOG24RNAKH
Models : ASG24ABAJ / AOG24ANAK
Refrigerant pipe
15.88mm(5/8")
Refrigerant pipe
9.52mm(3/8")
Capillary tube
Capillary
tube
Compressor
4-Way
valve
3-Way
valve
2-Way
valve
Dryer
Check valve
Strainer
Accumulator
Thermistor
(Pipe)
Muffler
OUTDOOR UNIT
Distributor
INDOOR UNIT
Evaporator
Cooling
Heating
Condenser
Distributor
Refrigerant pipe
15.88mm(5/8")
Refrigerant pipe
9.52mm(3/8")
Capillary
tube
Compressor
3-Way
valve
2-Way
valve
Dryer
Thermistor
(Pipe)
OUTDOOR UNIT
Distributor
INDOOR UNIT
Evaporator
Condenser

Related product manuals