EasyManua.ls Logo

Glow Fire Jupiter - Page 6

Glow Fire Jupiter
91 pages
Print Icon
To Next Page IconTo Next Page
To Next Page IconTo Next Page
To Previous Page IconTo Previous Page
To Previous Page IconTo Previous Page
Loading...
6
Info
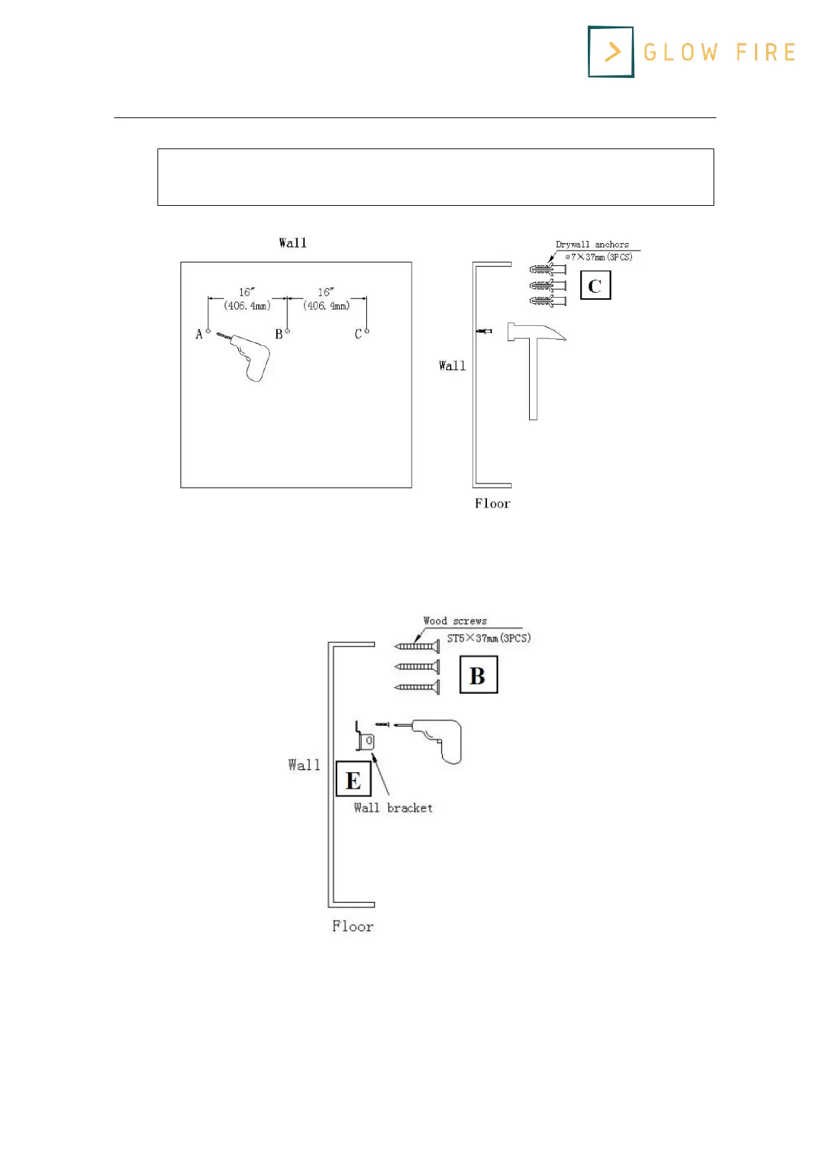
The wall fastening elements contained in this fireplace are for use only
with a wood-framed wall covered in drywall. For concrete walls or other
wall types, consult a specialist for the best fastening methods.
STEP 2:
With the three wooden screws (B) you attach the wall bracket with wooden screws and with the
drywall plugs, please tighten all screws.
STEP 3:
Let two people lift up the fireplace and insert the hooks (2 hooks on the back of the fireplace) on
the wall mount.

Related product manuals