EasyManua.ls Logo

Glow Fire Jupiter - Page 86

Glow Fire Jupiter
91 pages
Print Icon
To Next Page IconTo Next Page
To Next Page IconTo Next Page
To Previous Page IconTo Previous Page
To Previous Page IconTo Previous Page
Loading...
86
Info
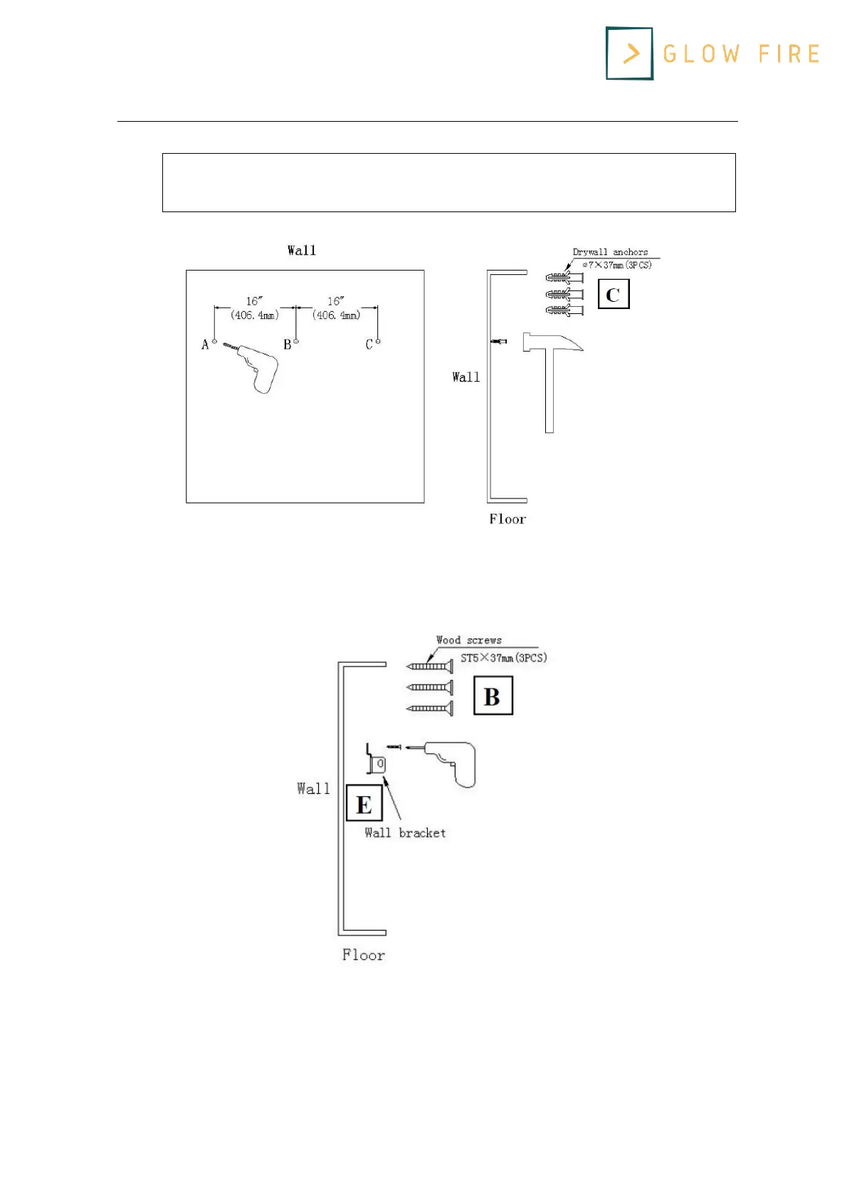
Vægbefæstelseselementerne i denne pejs er kun til brug med en
træindrammet væg dækket af gipsvæg. For betonvægge eller andre
vægtyper, konsultere en specialist for de bedste fastgørelsemetoder.
TRIN 2:
Med de tre træskruer (B) monterer du vægbeslaget med træskruer og med drywall-propperne,
stram alle skruer.
TRIN 3:
Lad to personer løfte pejsen og indsætte kroge (2 kroge på bagsiden af pejsen) på vægbeslag.

Related product manuals