EasyManua.ls Logo

Goddess DFE1267DW10 - Page 42

Goddess DFE1267DW10
Print Icon
To Next Page IconTo Next Page
To Next Page IconTo Next Page
To Previous Page IconTo Previous Page
To Previous Page IconTo Previous Page
Loading...
SK - 43
SK
SK - 42
Filtračná jednotka
Aby ste dosiahli najlepšie výsledky, ltračná jednotka musí byť pravidelne čistená. Filtre účinne
odstraňujú čiastočky jedál z vody a umožňujú vodu počas umývacieho cyklu znovu použiť. Preto
je dobré väčšie zvyšky jedla zachytené vo ltroch odstrániť po každom umývacom cykle tak, že
opláchnete polkruhové ltre a nádobku pod tečúcou vodou. Ak chcete ltračnú jednotku vybrať,
povytiahnite hore držiak nádobky. Celá ltračná jednotka by mala byť vyčistená aspoň raz týždenne.
K vyčisteniu ltra na hrubé nečistoty a mikroltra použite kefu. Potom znovu zmontujte časti ltra podľa
obrázku a znova vložte celú ltračnú jednotku na miesto do umývačky a stlačte dole. Umývačka sa nikdy
nesmie používať bez ltrov. Nesprávna výmena ltra môže znížiť účinnosť umývania a poškodiť riad.
UPOZORNENIE!
Nikdy nepúšťajte umývačku bez ltrov. Pri čistení ltrov na ltre neklikajte, inak môže dôjsť k ich
deformácii a výkon umývačky riadu sa zníži.
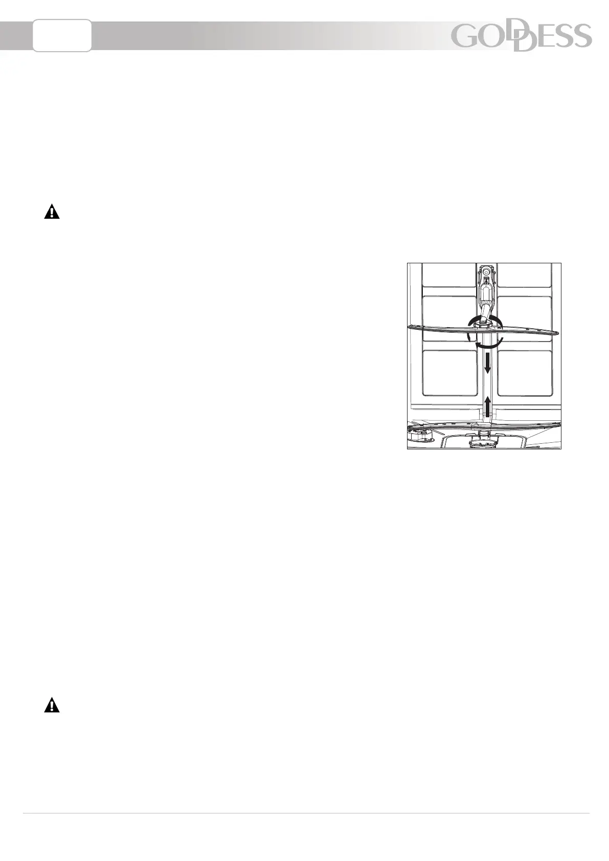
Čistenie sprchovacích ramien
Sprchovacie ramená je nutné čistiť pravidelne, pretože
chemikálie, ktoré sa pridávajú kvôli tvrdosti vody, môžu
trysky sprchovacích ramien upchávať. Ak chcete demontovať
sprchovacie rameno, odskrutkujte maticu a vyberte tesnenie
vrchnej časti sprchovacieho ramena a vyberte rameno. Umyte
sprchovacie ramená v teplej vode s umývacím prostriedkom
a k umytiu trysiek použite mäkkú kefku. Po dôkladnom
opláchnutí ich nainštalujte späť.
Starostlivosť o umývačku
K vyčisteniu ovládacieho panelu použite ľahko navlhčenú
handričku, potom ho dôkladne vysušte.
K vyčisteniu vonkajších častí umývačky použite vhodné čistidlo
určené na čistenie elektrických spotrebičov.
Nikdy nepoužívajte ostré predmety, drôtenky alebo brúsne čistiace prostr. na žiadnu z častí umývačky.
Chráňte pred mrazom
Ak bola vaša umývačka ponechaná cez zimu v nevykurovanej miestnosti, požiadajte technika,
aby postupoval podľa nasledujúcich bodov:
1) Odpojiť umývačku od prívodu elektrického prúdu.
2) Odpojiť prívod vody a odpojiť prívodnú rúrku od ventilu prívodu vody.
3) Vypustiť vodu z prívodnej rúrky a ventilu vody (k zachyteniu vody použite misu).
4) Znovu pripojte rúrku k ventilu prívodu vody.
5) Vyberte filter v potrubí v spodnej časti a hubkou vymyte vodu z nádržky.
Čistenie dvierok
K vyčisteniu okrajov okolo dvierok by ste mali používať len mäkkú a navlhčenú handričku.
Nepoužívajte žiadny čistiaci prostriedok v spreji, aby nedošlo k preniknutiu vody do zámku
dvierok a elektrických súčastí.
K vyčisteniu vonkajších častí nikdy nepoužívajte brúsne čistiace prostriedky ani drôtenky, pretože tak
poškrabete povrch. Aj niektoré papierové utierky môžu povrch poškrabať alebo na ňom zanechať stopy.
UPOZORNENIE!
Na čistenie panela dvierok nikdy nepoužívajte čistiaci prostriedok v spreji, pretože by ste tak
mohli poškodiť zámok dvierok alebo elektrické súčasti. Nepoužívajte brúsne čistiace prostriedky
ani papierové utierky, je tu riziko poškrabania a zanechania stôp na nerezovom povrchu.

Table of Contents

Related product manuals