EasyManua.ls Logo

Goodman REMOTE CONDENSING UNITS GSC13 - Coil;Cabinet Top;Side Panels

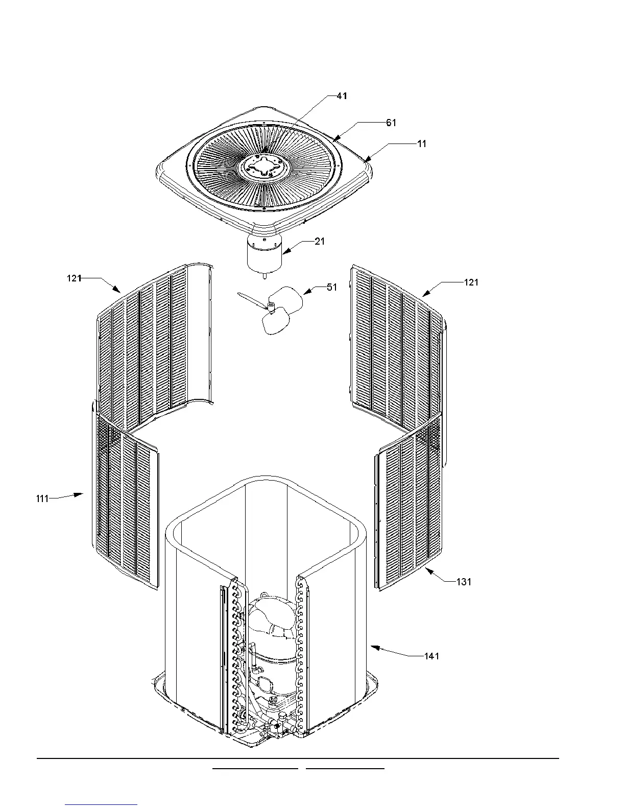
Goodman REMOTE CONDENSING UNITS GSC13
9 pages
Print Icon
To Next Page IconTo Next Page
To Next Page IconTo Next Page
To Previous Page IconTo Previous Page
To Previous Page IconTo Previous Page
Loading...
Coil/Cabinet Top/Side Panels
8
RP-431
G
www.goodmanmfg.com www.amana-hac.com