EasyManua.ls Logo

GRE VCB50 - Page 68

GRE VCB50
128 pages
Print Icon
To Next Page IconTo Next Page
To Next Page IconTo Next Page
To Previous Page IconTo Previous Page
To Previous Page IconTo Previous Page
Loading...
a2
a1
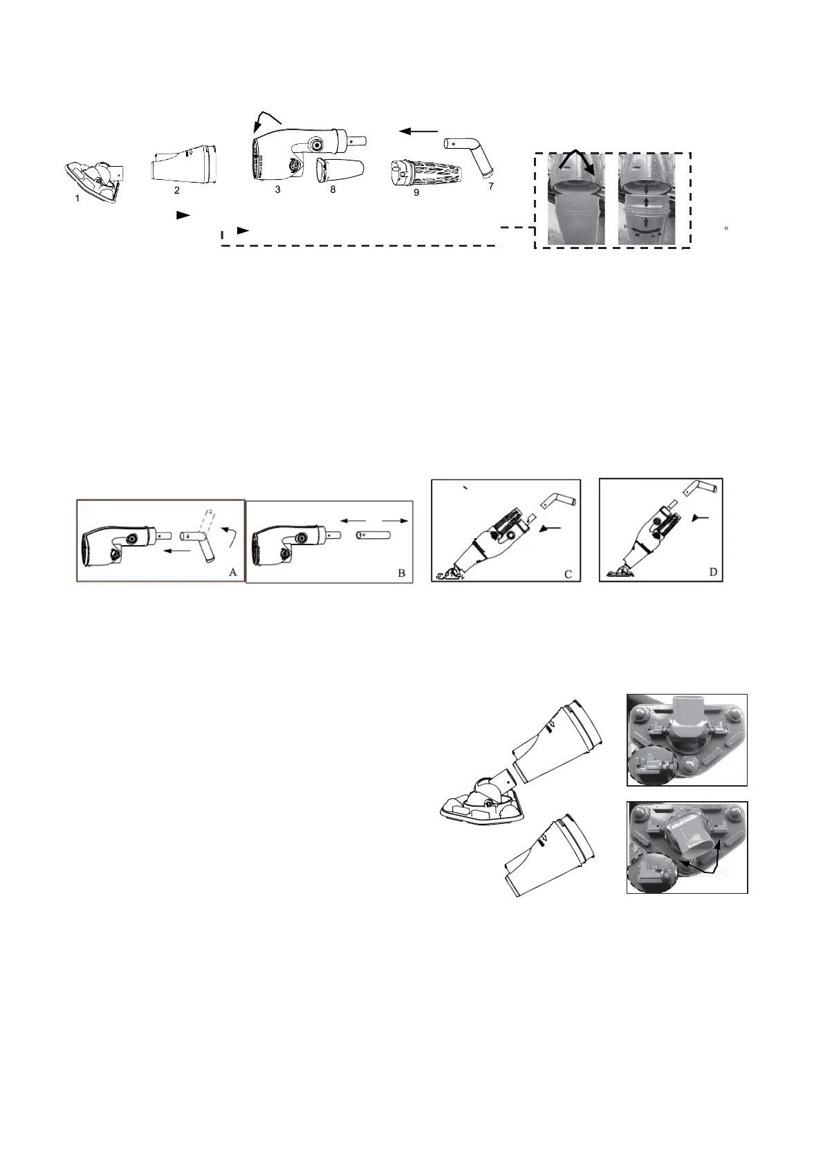
2. Montagem do mango
Siga a direção das flechas para montar os diferentes componentes, e as indicações de Open
(Abrir) e Close (Fechar).
(1). Mango portátil. Incorpora
a conexão ao aparelho. O
mango portátil utiliza-se para
sujeitar o VCB50 e limpar as
paredes, escadas, assentos e
cantos da piscina Fig. [A].
2). Montagem do mango
telescópico (não incluído)
Também é possível acoplar o
VCB50 a mangos telescópicos
standard Fig. [B].
(3). Se necessário, o mango pode
ser acoplado na direção indicada
nas figuras C e D.
3. Montagem da cabeça pivotante
Insira diretamente a cabeça pivotante na base da
cobertura transparente.
A fim de obter uma aspiração melhor, utilize o
limpador como indicado:
• Insira a cabeça pivotante para aspirar pedrinhas e
folhas, como mostrado na imagem A.
• Não é necessário utilizar a cabeça pivotante para
aspirar pedras e outros resíduos grandes, como
mostrado na imagem B.
Puxar as escovas da cabeça de sucção para as retirar.
Para piscinas de vinil e de fibra de vidro é recomendável manter as escovas acopladas à cabeça
de sucção, para evitar danificar a piscina.
B
A

Related product manuals