EasyManua.ls Logo

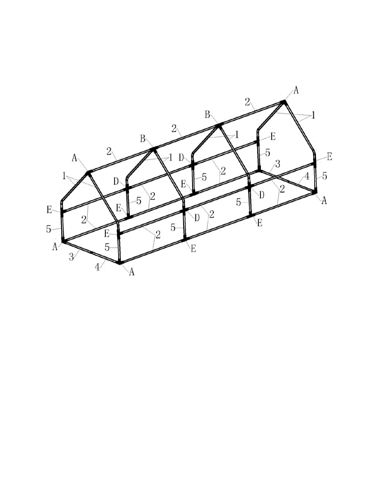
GroundWork Cold Frame Greenhouse - Groundwork Cold Frame Greenhouse Exploded View

GroundWork Cold Frame Greenhouse
4 pages
Print Icon
To Previous Page IconTo Previous Page
To Previous Page IconTo Previous Page
Loading...
4
EXPLODED VIEW